EasyManua.ls Logo

Panasonic PT-DZ12000U

Panasonic PT-DZ12000U
239 pages
To Next Page IconTo Next Page
To Next Page IconTo Next Page
To Previous Page IconTo Previous Page
To Previous Page IconTo Previous Page
Loading...
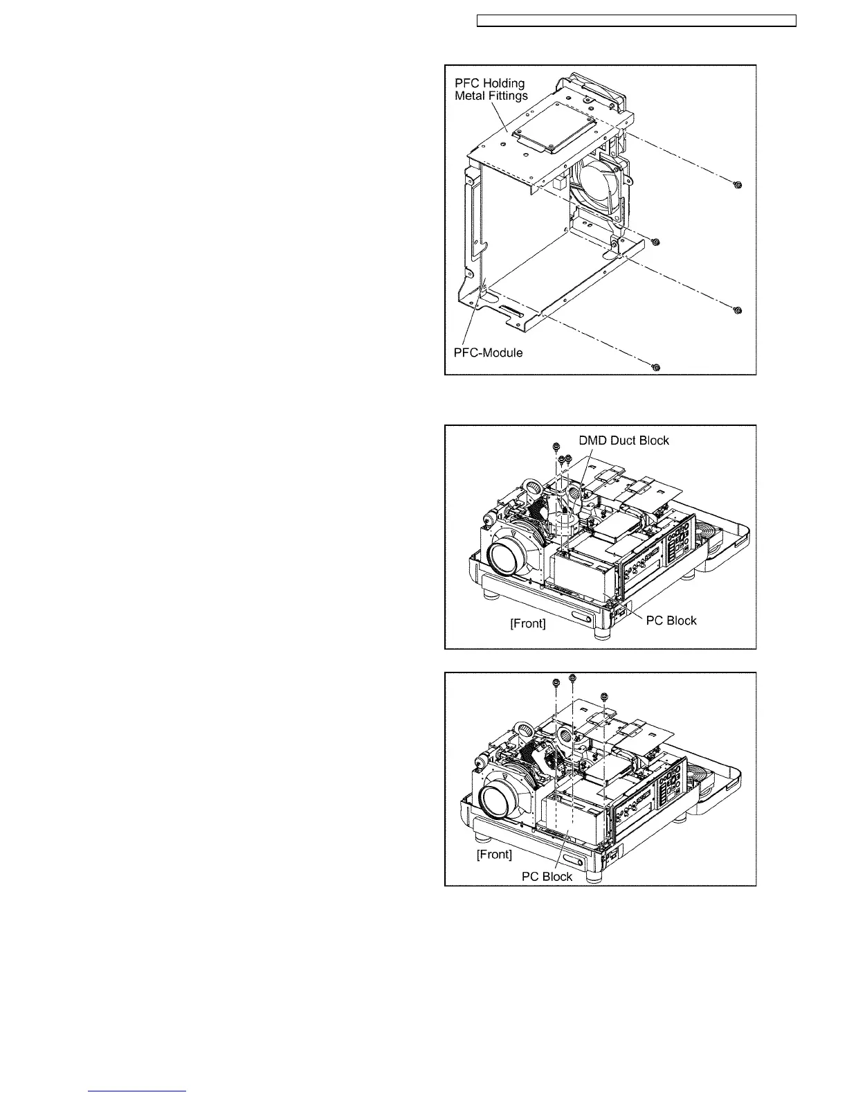
(1) Remove the PFC holding metal fittings (power unit) according to
the steps 1 through 9 in the section 12.17. "Removal of Ballasts
1 and 2 (B/Q-Module)".
(2) Unscrew the 4 screws and remove the PFC-Module.
12.20. Removal of PC-Module
(1) Remove the upper case according to the section 12.2. "Removal
of Upper Case".
(2) Unscrew the 3 screws and remove the DMD duct block.
(3) Unscrew the 3 screws and remove the PC block.
45
PT-DZ12000U / PT-DZ12000E / PT-D12000U / PT-D12000E / PT-DW100U / PT-DW100E

Table of Contents

Other manuals for Panasonic PT-DZ12000U

Related product manuals