EasyManua.ls Logo

Panasonic S-36PT2E5B - 4 Elektrische Verkabelung; Allgemeine Hinweise zur Verkabelung; Empfohlene Kabellänge und Kabelquerschnitt für das Stromversorgungssystem

Panasonic S-36PT2E5B
252 pages
Print Icon
To Next Page IconTo Next Page
To Next Page IconTo Next Page
To Previous Page IconTo Previous Page
To Previous Page IconTo Previous Page
Loading...
88
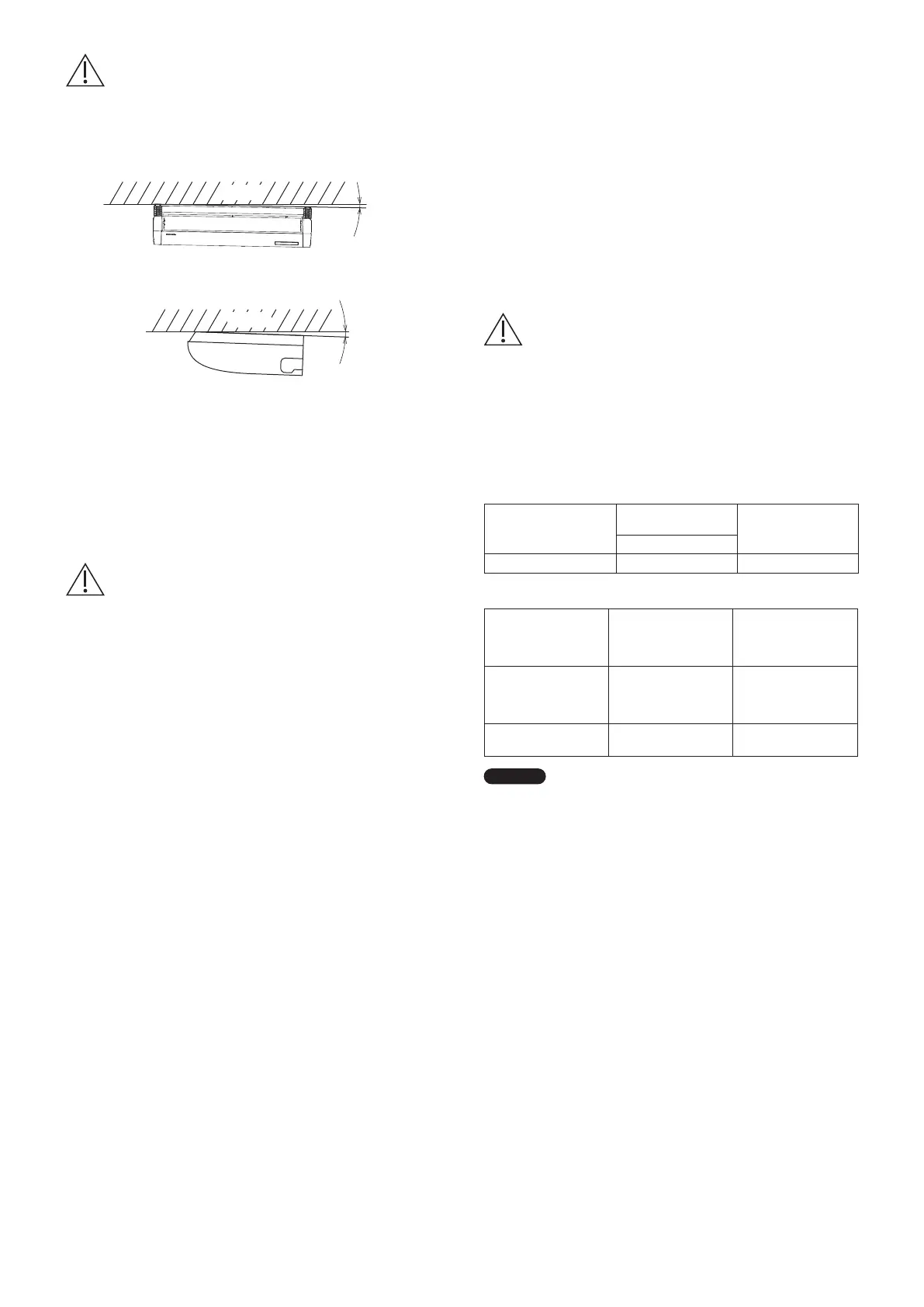
VORSICHT
Das Innengerät sollte in Richtung des
Ablaufleitungsanschlusses ein wenig nach unten geneigt
sein, wie in der nachstehenden Abbildung verdeutlicht,
damit das Wasser vollständig abfließen kann und kein
Restwasser in der Mitte verbleibt.
Decke
Ca. 1°
Ca. 2°
Decke
Diagonal rechts nach unten (Ansicht von vorne)
(Beispiel: Diagonal rechts nach hinten)
Diagonal nach hinten (Ansicht von der Seite)
4. ELEKTRISCHE VERKABELUNG
4-1. Allgemeine Hinweise zur Verkabelung
(1) Bevor mit der Verkabelung begonnen wird, muss die
Nennspannung des Geräts festgestellt werden, die
auf dem Typenschild vermerkt ist; danach kann die
Verkabelung unter genauer Beachtung des Schaltplans
vorgenommen werden.
WARNUNG
(2)
Es wird dringend empfohlen, dieses Gerät mit einem
Fehlerstromschutzschalter oder einer Fehlerstrom-
Schutzeinrichtung zu installieren. Anderenfalls
könnte bei einem Geräte- oder Isolierungsdefekt ein
Stromschlag verursacht werden.
Ein Fehlerstromschutzschalter muss den
Verkabelungsvorschriften gemäß in die
Festverkabelung integriert werden. Der
Fehlerstromschutzschalter muss eine Zulassung für
10-16 A haben und Kontakttrennung in allen Polen
aufweisen.
(3) Um Stromschlaggefahr durch Isolierungsfehler zu
vermeiden, muss die Einheit geerdet werden.
(4) Jeder Kabelanschluss muss entsprechend dem Schaltplan
durchgeführt werden. Eine inkorrekte Verkabelung kann
eine Funktionsstörung bzw. Beschädigung des Geräts
verursachen.
(5) Darauf achten, dass die Kabel nicht an der
Kühlmittelleitung, dem Kompressor oder einem anderen
sich bewegenden Teil des Lüfters anliegen.
(6) Nicht autorisierte Veränderungen der Innenverkabelung
stellt ein hohes Gefahrenrisiko dar. Der Hersteller lehnt
jede Haftung für Schäden oder Funktionsstörungen ab, die
durch nicht autorisierte Modifikationen entstanden sind.
(7) Die Bestimmungen für die Kabelquerschnitte sind von Ort
zu Ort verschieden. Für die Verkabelungsbestimmungen
sich vor Beginn von Elektroarbeiten mit den LOKALEN
VERORDNUNGEN vertraut machen.
Sie sind dafür verantwortlich, dass bei der Installation alle
gültigen Bestimmungen und Verordnungen eingehalten
werden.
(8) Um eine Funktionsstörung des Klimageräts durch
elektrische Störsignale zu vermeiden, müssen bei der
Verkabelung die folgenden Hinweise unbedingt beachtet
werden:
Fernbedienungskabel und Einheiten-Steuerverbindungskabel
müssen getrennt von Stromversorgungskabeln zwischen
Geräten verlegt werden.
Als Einheiten-Steuerverbindungskabel zwischen sind
abgeschirmte Kabel zu verwenden; ebenso muss die
Abschirmung auf beiden Seiten geerdet werden.
(9) Wenn das Stromversorgungskabel dieses Geräts
beschädigt ist, muss es durch einen vom Hersteller
autorisierten Händler ersetzt werden, da hierfür
Spezialwerkzeuge erforderlich sind.
VORSICHT
Vor Beginn der Verkabelung die örtlichen Verordnungen
und Richtlinien überprüfen.
Ebenso auf spezielle Verordnungen und Begrenzungen
achten.
4-2. Empfohlene Kabellänge und Kabelquerschnitt
für das Stromversorgungssystem
Innengerät
Typ
(B)
Stromversorgung
Zeitsicherung oder
Schaltkreiskapazität
2,5 mm
2
T2 Max. 130 m 10-16 A
Steuerkabel
(C)
Steuerverbindungskabel
(zwischen Außen- und
Innengeräten)
(D) Fernbedienungskabel
(E)
Gruppensteuerungskabel
0,75 mm
2
(AWG Nr. 18)
Abgeschirmte Kabel
verwenden*
0,75 mm
2
(AWG Nr. 18)
0,75 mm
2
(AWG Nr. 18)
Max. 1.000 m Max. 500 m
Max. 200 m
(Insgesamt)
HINWEIS
*
Mit Kabelklemme in Ring-Ausführung.
00_301038_All.indb 88 2018/6/11 15:43:25

Table of Contents