EasyManua.ls Logo

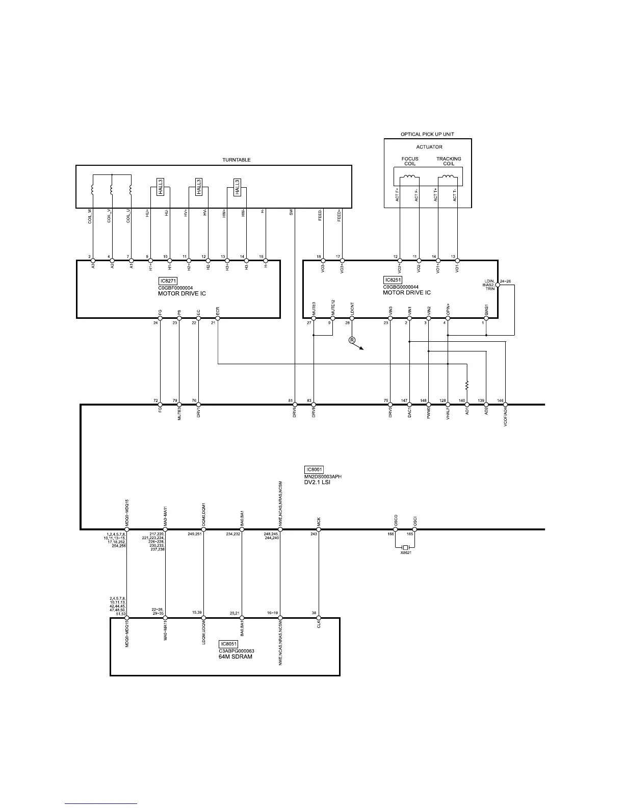
Panasonic SC-TM72DV - Block Diagram

Panasonic SC-TM72DV
132 pages
Print Icon
To Next Page IconTo Next Page
To Next Page IconTo Next Page
To Previous Page IconTo Previous Page
To Previous Page IconTo Previous Page
Loading...
20 Block Diagram

Table of Contents

Related product manuals