EasyManua.ls Logo

Panasonic SC-TM72DV - CD Loading Mechanism and CR16 Mechanism Disassembly

Panasonic SC-TM72DV
132 pages
Print Icon
To Next Page IconTo Next Page
To Next Page IconTo Next Page
To Previous Page IconTo Previous Page
To Previous Page IconTo Previous Page
Loading...
17.8 Procedure for removing CD loading mechanism
1. Turn off by pressing power SW in the body.
2. Unplug AC power cord after the indication of [GOOD-BYE], then disassemble the body.
3. Disassemble the body, and take out CD loading mechanism.
4. Perform disassembly according to the following procedure for disassembly.
17.9 CR16 mechanism disassembly procedure
17.9.1 Gear for servicing information
17.9.2 Replacement for the disc tray
17.9.3 Replacement for the traverse deck
17.9.4 Disassembly for CD loading unit
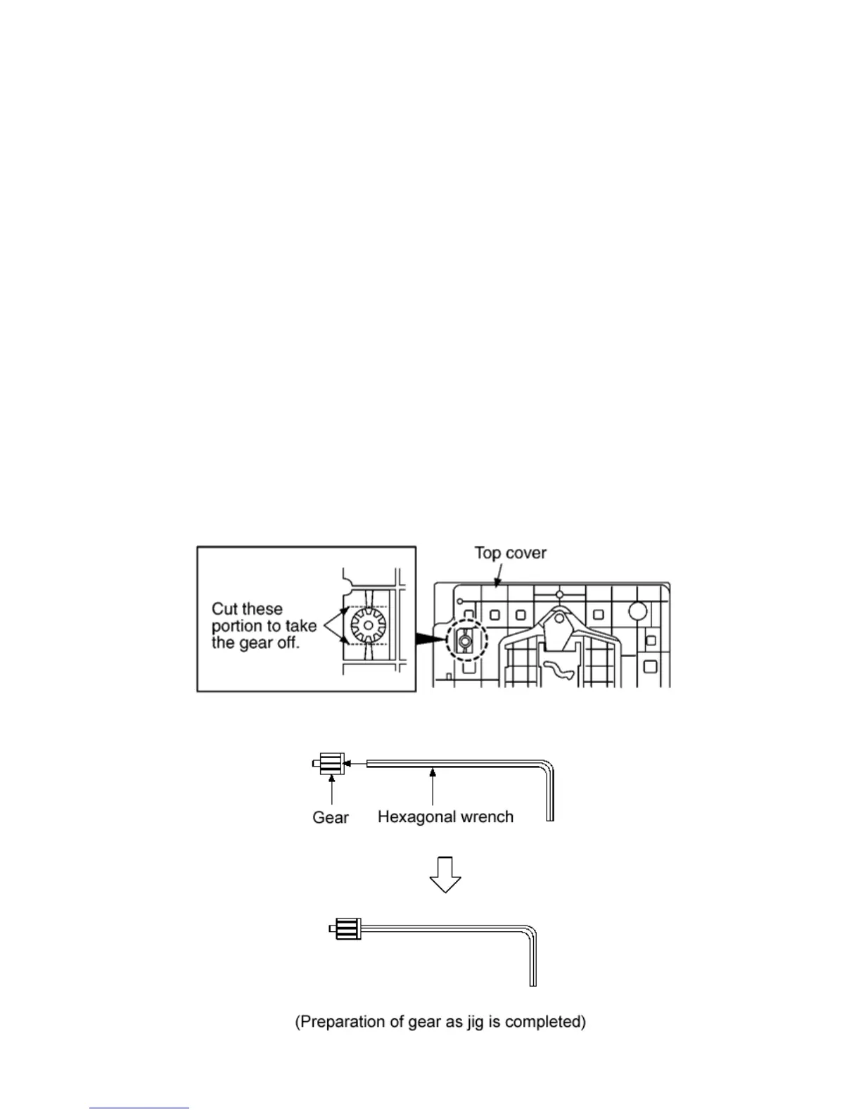
17.9.1 Gear for servicing information
This unit has a gear which used for checking items (open/close of disc tray, up/down operation of traverse unit by
manually) when servicing. (For gear information, that is described on the items for disassembly procedures.)
For preparation of gear (for servicing), perform the procedures as follows.
In case of re-servicing the same set, the “gear for servicing” may be took off because it had been used. So, the “gear for
servicing” must be stored.
1. Remove the gear attached to top cover of CD loading mechanism.
2. Insert the hexagonal wrench (2.5mm) into the gear.

Table of Contents

Related product manuals