EasyManua.ls Logo

Polaris 800 RMK ASSAULT 2011 - Walker Evans Ifp Monotube Shock

Polaris 800 RMK ASSAULT 2011
512 pages
Print Icon
To Next Page IconTo Next Page
To Next Page IconTo Next Page
To Previous Page IconTo Previous Page
To Previous Page IconTo Previous Page
Loading...
7.26
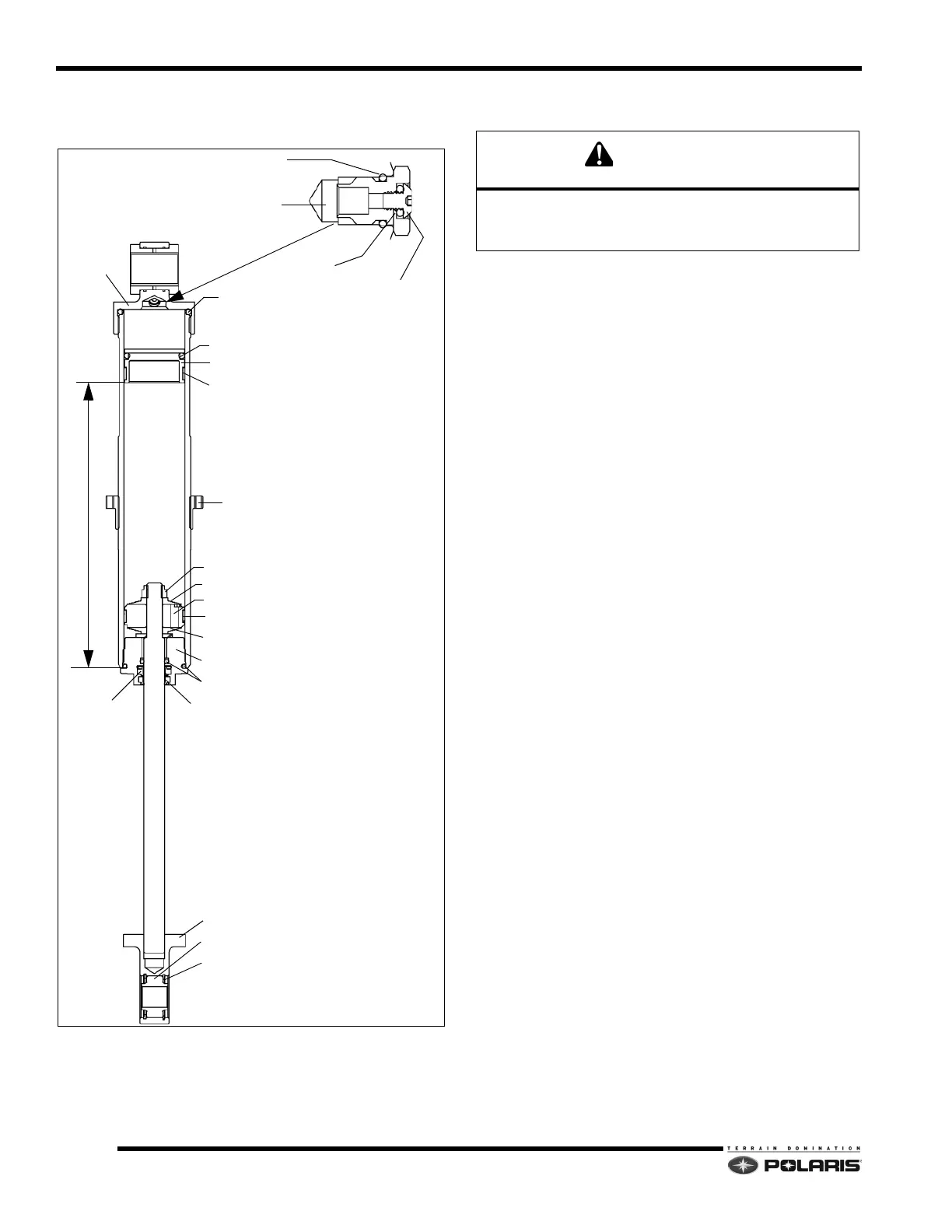
Shocks
Walker Evans IFP Monotube Shock
Shock Disassembly
1. Remove the shock from the vehicle. Clean the shock
assemb
ly to remove all dirt and foreign material.
Inspect the assembly for any noticeable signs of
damage.
2. Clamp the body cap end of the shock in a soft-jawed
bench v
ise.
3. Remove the bleed screw from the fill port. Insert
the
needle of the gas fill tool, PN PS-45259, into the fill
port to depressurize the shock. Push the shock rod
down to ensure all nitrogen is expelled. Remove the
fill port from the body cap.
4. Remove the bearing assembly from the shock body.
Re
move the bearing assembly/shock rod from the
shock body.
5. Release the bench vise and drain all of the oil out of
th
e shock body into a suitable container. Discard the
oil in accordance with local rules and regulations.
6. Position the bearing cap end of the shock over a clean
sh
op towel on the bench. Use compressed air applied
to the fill port bore to push the IFP out of the shock
body.
NOTE: Body cap removal is only required if the
sea
ling o-ring is believed to be damaged. Final
assembly IFP depth is measured from the bearing end
of shock.
7. Remove the lock nut from the shock rod. Remove the
backup
plate, rebound stack, piston, compression
stack, and top-out plates as one assembly. Orientate
these components on a clean shop towel as they are
assembled on the shock rod.
8. Remove the shock rod from the bearing.
9. With the shock disassembled, inspect all o-rings, the
U-
cup seal, wearbands, and the wiper seal. It is
recommended that all be replaced with new parts.
10. Inspect the shock rod and shock body tube for
dam
age and/or pitting.
11. Inspect the rebound and compression stack valve
sh
ims. Shims that are damaged, bent, chipped, or
wavy in appearance must be replaced.
12. Thoroughly clean all parts and dry with compressed
air
.
SHOCK ROD
IFP DEPTH
EYELET
O-RING
O-RING
BLEED SCREW
FILL PORT
IFP
O-RING
WEARBAND
BODY CAP
O-RING
SPRING RETAINER
LOCK NUT
REBOUND STACK
WEARBAND
PISTON VALVE
REBOUND STACK
BEARING
O-RINGS
U-CUP SEAL
WIPER
BEARING
RETAINER
CAUTION
SHOCK CONTENTS UNDER HIGH PRESSURE.
ALWAYS WEAR SAFETY GLASSES WHEN
WORKING WITH SHOCKS.

Table of Contents

Related product manuals