EasyManua.ls Logo

Polysoude PS 254 - Programming of Sectors

Default Icon
87 pages
Print Icon
To Next Page IconTo Next Page
To Next Page IconTo Next Page
To Previous Page IconTo Previous Page
To Previous Page IconTo Previous Page
Loading...
MAN. PS 254 EN – Ind. 2 43
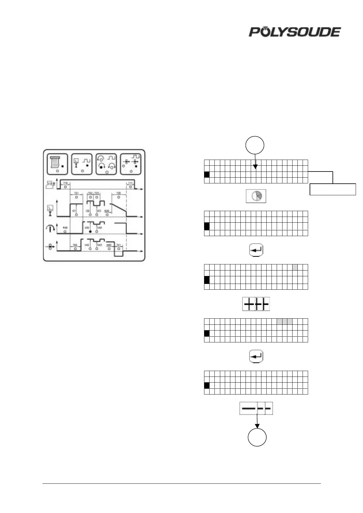
3.3.5. Programming of sectors
3.3.5.1. Creation of a sector
A sector is characterized by its number (S) and
the value (N) indicating the sector start
position.
If a sector is created, the actual values of the
weld parameters are automatically transfered
(that's why the programming of a sector should
be completely finished before the next one is
created).
The value of the parameter "N" for the actual
sector must be higher than the value of the
preceeding sector and lower than the value
"N30" (start of the downslope). If this is not the
case, the value will not be accepted.
01-NANTES
V32=2 00
01-NANTES
S1 V3 2=200
S2?
01-NANTES N=0001D
S1 V32=200
S2 V3 2=200
01-NANTES N=0 1 00 D
S1 V32=200
S2 V3 2=200
01-NANTES N=0100 D
S1 V32=200
S2 V3 2=200
18
18
Other

Table of Contents

Related product manuals