EasyManua.ls Logo

PROEL MS 32 - Page 18

PROEL MS 32
57 pages
Print Icon
To Next Page IconTo Next Page
To Next Page IconTo Next Page
To Previous Page IconTo Previous Page
To Previous Page IconTo Previous Page
Loading...
18
Proel MS 32 Owner's Manual
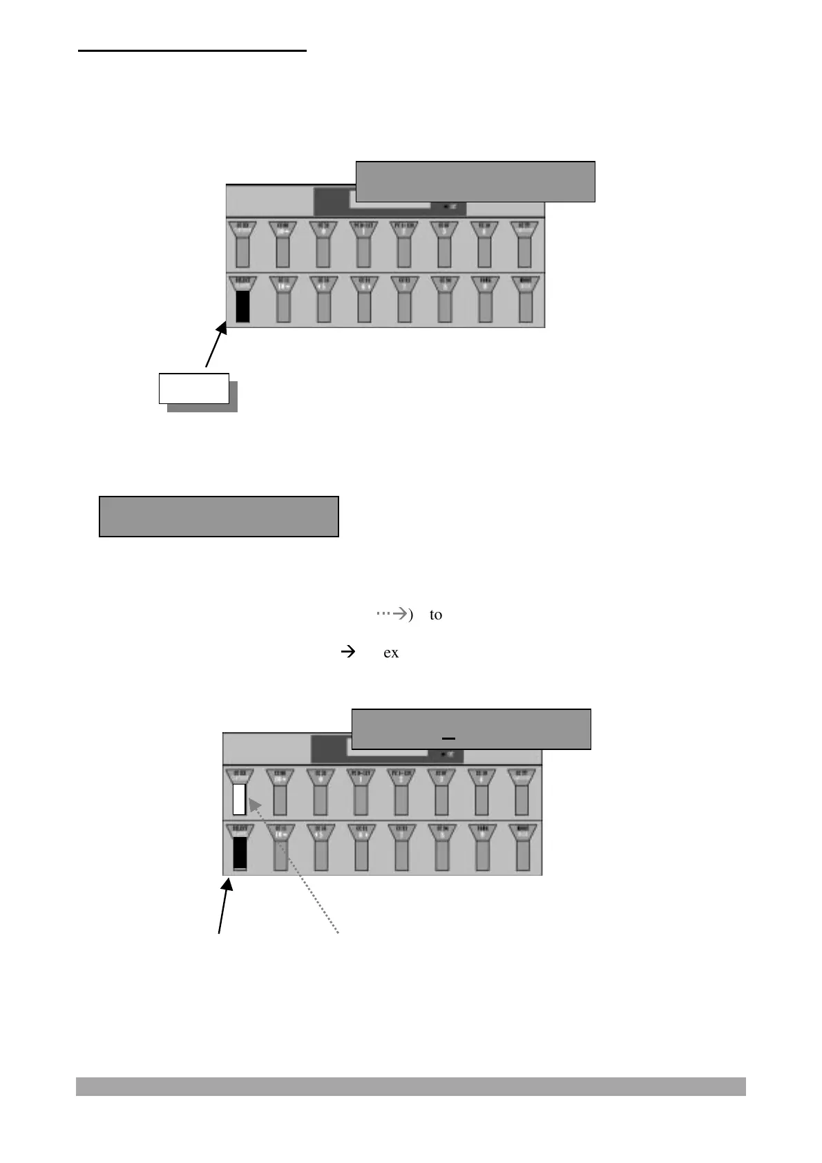
EDIT SET PARAMETERS
When the pedalboard is in the SET mode press the "SELECT/CHANNEL" switch to edit the
parameters of the selected "SET".
The display shows:
Press and release:
- the "CCXXX/CONTINUE" switch (

Æ
Æ
) to confirm the data and pass to the
display/modification of the first "SET" parameter or
- the "SELECT/CHANNEL" switch (
Æ
Æ
) to exit from "SET" parameter programming.
EDIT
Edit S continue?
Edit S continue?
Name: *FACTORY0*