EasyManua.ls Logo

PROEL MS 32 - B CHANNEL PROGRAMMABLE Y CONTROL CHANGE

PROEL MS 32
57 pages
Print Icon
To Next Page IconTo Next Page
To Next Page IconTo Next Page
To Previous Page IconTo Previous Page
To Previous Page IconTo Previous Page
Loading...
42
Proel MS 32 Owner's Manual
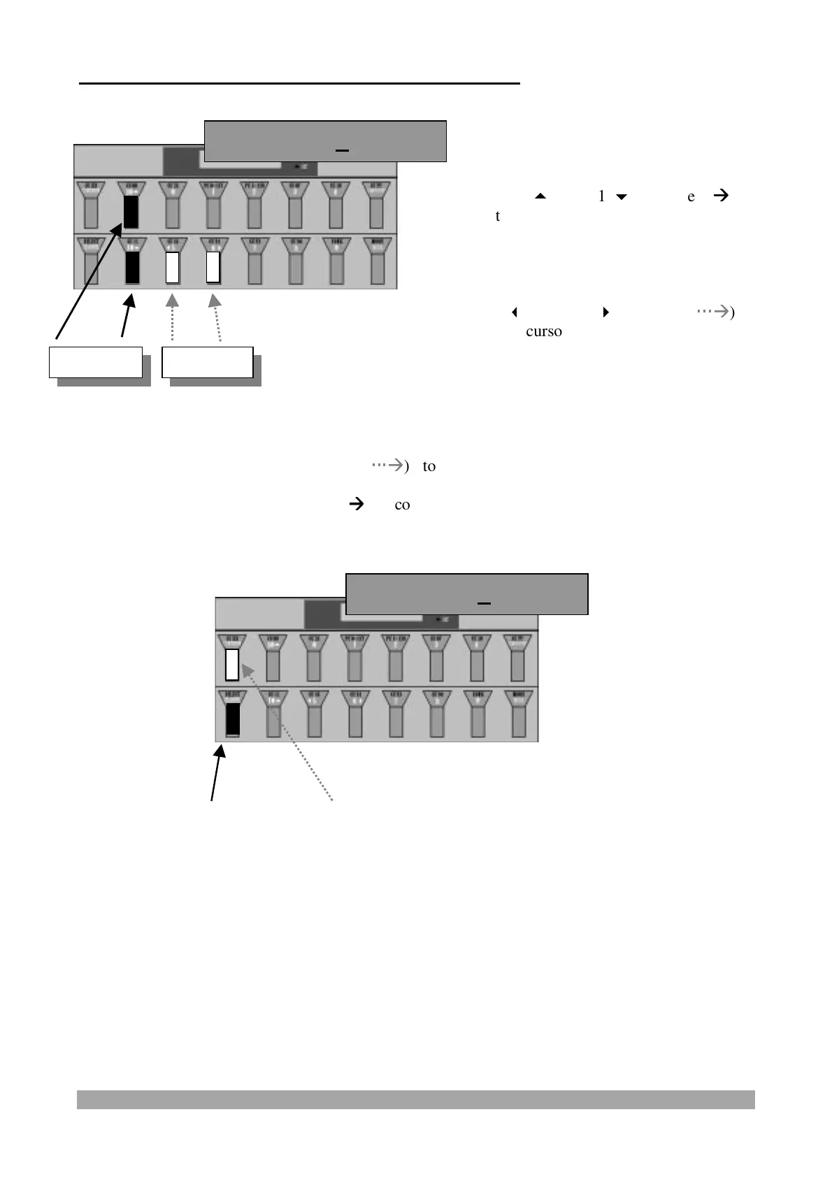
B CHANNEL PROGRAMMABLE "y" CONTROL CHANGE :
Press and release:
- the "CCXXX/CONTINUE" switch (

Æ
Æ
) to confirm the data and go back to the
display/modification of the first "PATCH" parameter or
- the "SELECT/CHANNEL" switch (
Æ
Æ
) to confirm the data and exit from "PATCH" parameter
programming.
FC1 to 7 AB On
B yCC 93 = 0
Value Cursor
Press the "10
" and "10
" switches (
Æ
Æ
)
to select a value from 0 to 120 and 0 to
127, in the Off condition, to be inserted,
respectively, as the type and the value o
f
B channel control change.
Use the "
5" and "6
" switches (

Æ
Æ
)
to move the cursor back and forward.