EasyManua.ls Logo

PROEL MS 32 - A Part Tx MIDI Channel

PROEL MS 32
57 pages
Print Icon
To Next Page IconTo Next Page
To Next Page IconTo Next Page
To Previous Page IconTo Previous Page
To Previous Page IconTo Previous Page
Loading...
Proel MS 32 Owner's Manual
21
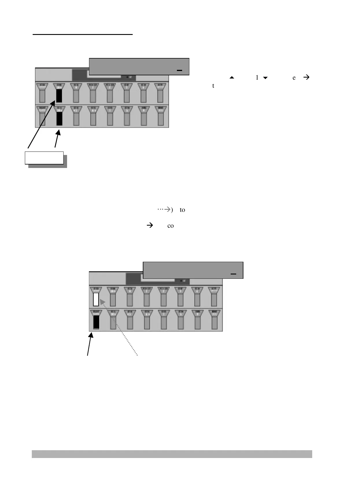
"A" PART TX MIDI CHANNEL :
Press and release:
- the "
CCXXX/CONTINUE
" switch (

Æ
Æ
) to confirm the data and pass to the
display/modification of the following "SET" parameter or
- the "
SELECT/CHANNEL
" switch (
Æ
Æ
) to confirm the data and exit from "SET" parameter
programming.
Press the "10
" and "10
" switches (
Æ
Æ
)
to select a value from 1 to 16.
(Keeping the switch pressed the characters
will shift automatically).
A
PartMIDI Ch 1
Value
B PartMIDI Ch 2