EasyManua.ls Logo

PROEL MS 32 - B Channel Program Change

PROEL MS 32
57 pages
Print Icon
To Next Page IconTo Next Page
To Next Page IconTo Next Page
To Previous Page IconTo Previous Page
To Previous Page IconTo Previous Page
Loading...
40
Proel MS 32 Owner's Manual
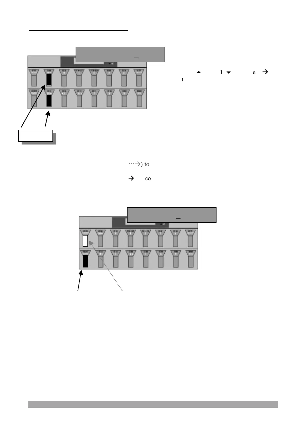
B CHANNEL PROGRAM CHANGE :
Press and release:
- the "CC XXX/CONTINUE" switch (

Æ
Æ
) to confirm the data and display/modify the following
"PATCH" parameter or
- the "SELECT/CHANNEL" switch (
Æ
Æ
) to confirm the data and exit from "PATCH" parameter
programming.
B xCC 91 = 40
B PC = Of
Value
Press the "10
" and "10
" switches (
Æ
Æ
)
to select a value from 1 to 128 and the Of
f
condition to be inserted for the B channel
program change.