EasyManua.ls Logo

REXROTH VFC 3610 - Digital Input NPN; PNP Wiring

REXROTH VFC 3610
98 pages
Print Icon
To Next Page IconTo Next Page
To Next Page IconTo Next Page
To Previous Page IconTo Previous Page
To Previous Page IconTo Previous Page
Loading...
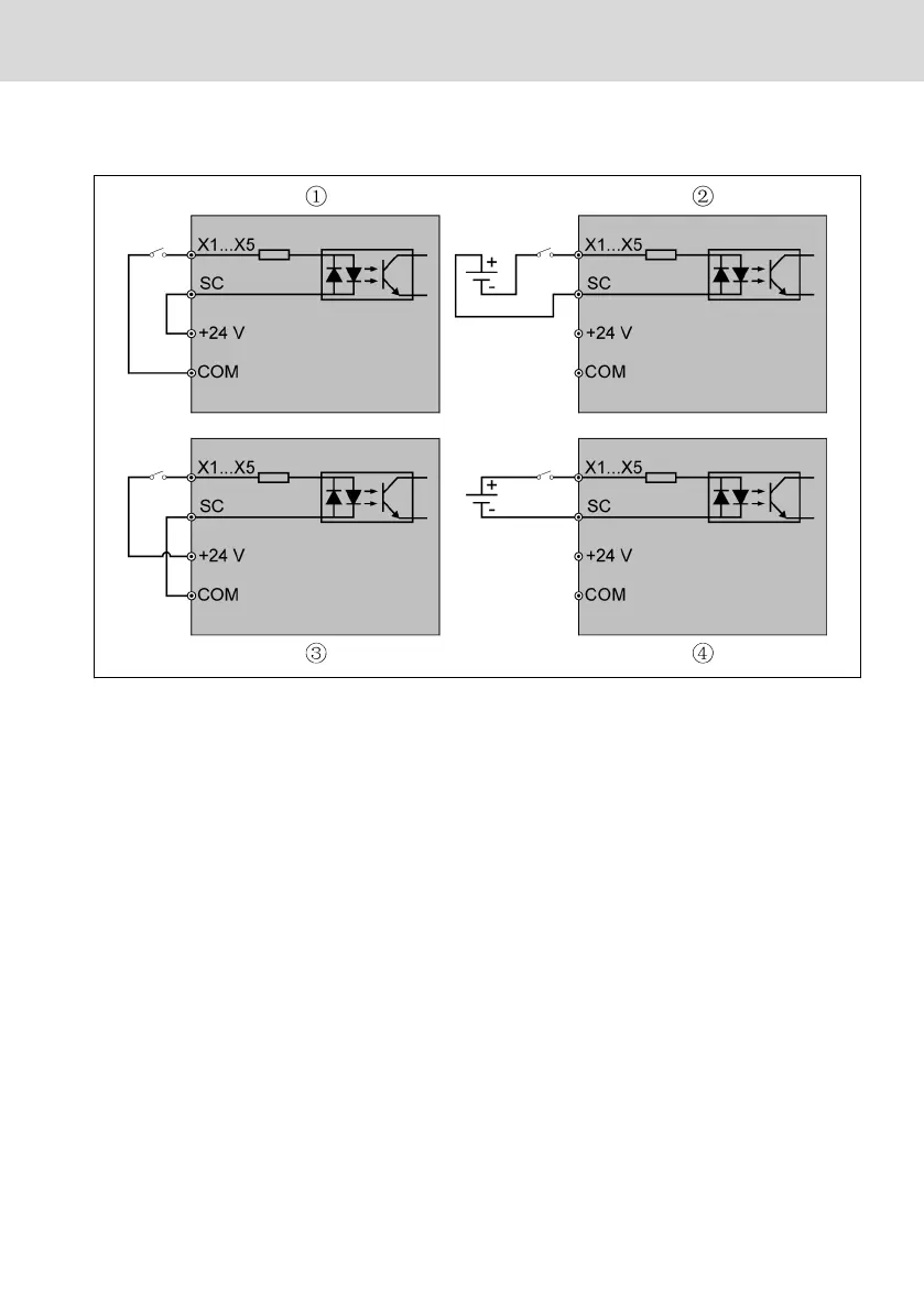
Digital input NPN / PNP wiring
NPN wiring with internal power supply
NPN wiring with external power supply
PNP wiring with internal power supply
PNP wiring with external power supply
Fig. 2-6: Digital input NPN / PNP wiring
Rexroth Frequency Converter VFC
3610 / VFC 5610
25/91
Electric Installation
R912005518_Edition 16 Bosch Rexroth AG

Table of Contents

Related product manuals