EasyManua.ls Logo

Rosemount 3152 - Sensor Cell Description

Rosemount 3152
80 pages
Print Icon
To Next Page IconTo Next Page
To Next Page IconTo Next Page
To Previous Page IconTo Previous Page
To Previous Page IconTo Previous Page
Loading...
Rosemount 3150 Series
Reference Manual
00809-0100-
4835 Rev BD
July 2016
4-3
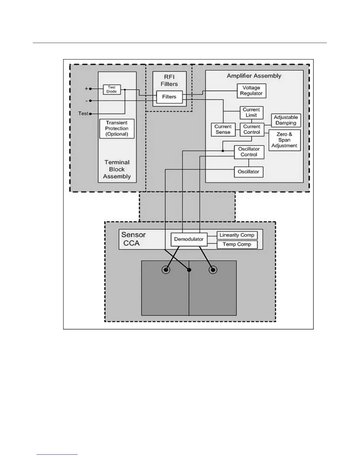
Figure 4-1 Block Diagram
Figure 4-2 The Sensor Cell
THE SENSOR CELL
Process pressure is transmitted through an isolating diaphragm and
silicon oil fill fluid to a sensing diaphragm in the center of the Sensor.
The reference pressure is transmitted in a like manner to the other side
of the sensing diaphragm. The capacitance plates on both sides of the
sensing diaphragm detect the position of the sensing diaphragm. The
capacitance between the sensing diaphragm and either capacitor plate
ranges from 40pf to 80pf depending on input pressure. An oscillator
drives the sensor through the transformer windings at roughly 110 kHz
and 20 V
p-p
.

Related product manuals