EasyManua.ls Logo

Rotex RKHBH008AA - Toepassing 4; Overzicht Van de Binnenunit; Binnenunit Openen

Default Icon
Print Icon
To Next Page IconTo Next Page
To Next Page IconTo Next Page
To Previous Page IconTo Previous Page
To Previous Page IconTo Previous Page
Loading...
RKHBH/X008AA
Binnenunit voor lucht-water-warmtepompsysteem
4PW50203-1A
Montagehandleiding
5
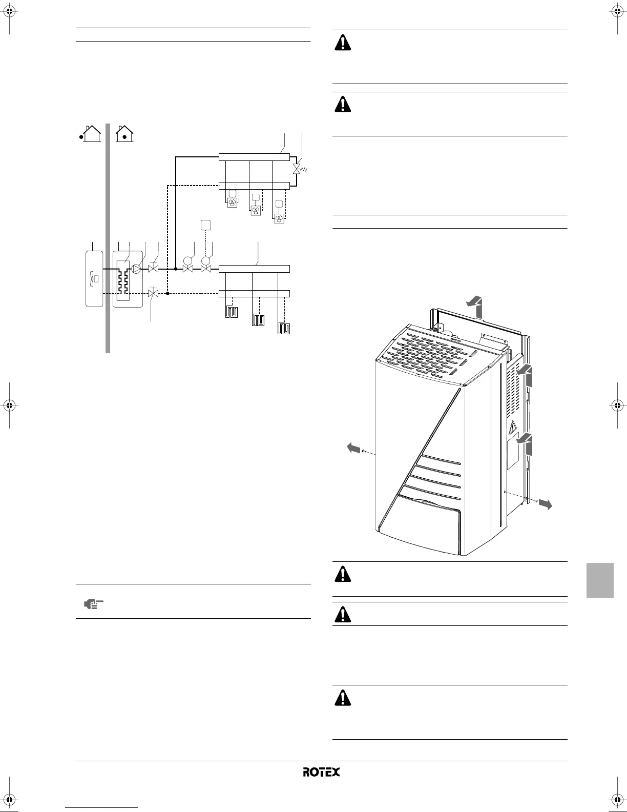
Toepassing 4
Toepassing voor koelen en verwarmen van ruimten zonder op de
binnenunit aangesloten kamerthermostaat, maar met een
kamerthermostaat voor alleen verwarmen voor de vloerverwarming
en een thermostaat voor koelen/verwarmen voor de ventilator-
convectoren. Verwarmen door middel van vloerverwarmingslussen
en ventilatorconvectoren. Koelen alleen door middel van de
ventilatorconvectoren.
Pompwerking
Zonder op de binnenunit (2) aangesloten thermostaat kan de pomp
(4) worden geconfigureerd om te werken zolang de binnenunit is
ingeschakeld, of tot de vereiste watertemperatuur is bereikt.
Verwarmen en koelen van ruimten
Afhankelijk van het seizoen kiest de klant via de gebruikersinterface
op de binnenunit koelen of verwarmen.
De buitenunit (1) begint te werken in de koel- of de verwarmingsstand
om de doeltemperatuur van het uitgaande water te bereiken.
Wanneer de unit in de verwarmingsstand staat, is de 2-wegsklep (13)
open. Warm water wordt zowel naar de ventilatorconvectoren als
naar de vloerverwarmingslussen gestuurd.
Wanneer de unit in de koelstand staat, is de gemotoriseerde
2-wegsklep (13) gesloten om te voorkomen dat koud water in de
vloerverwarmingslussen (FHL) wordt gestuurd.
Via de gebruikersinterface op de binnenunit wordt de AAN/UIT-
instelling van verwarmen/koelen bepaald.
OVERZICHT VAN DE BINNENUNIT
Binnenunit openen
De frontklep op het deksel van de binnenunit biedt toegang tot
de manometer en de gebruikersinterface.
Het deksel van de binnenunit kan worden verwijderd door de
2 schroeven aan de zijkant te verwijderen en het deksel los te
haken.
Om toegang te krijgen tot de componenten van de schakelkast
bijv. om de lokale bedrading aan te sluiten – kan het
servicepaneel van de schakelkast worden verwijderd. Draai
daartoe de schroeven op de voorkant los en haak het service-
paneel van de schakelkast los.
1 Buitenunit 14 Gemotoriseerde
2-wegsklep voor
activering van de kamer-
thermostaat (lokale
levering)
2 Binnenunit
3 Warmtewisselaar
4 Pomp
5 Afsluiter FCU1..3 Ventilatorconvector
met thermostaat
(lokale levering)
6 Verdeelstuk
(lokale levering)
7 Afsluiter FHL1..3 Vloerverwarmingslus
(lokale levering)
9 Omloopklep
(lokale levering) T Kamerthermostaat
voor alleen verwarmen
(lokale levering)
13 Gemotoriseerde
2-wegsklep voor
uitschakelen van de
vloerverwarmings-
lussen tijdens koelen
(lokale levering)
T4..6 Individuele
kamerthermostaat voor
met ventilatorconvector
verwarmde/gekoelde
kamer (lokale levering)
LET OP
Meer informatie over de configuratie van de pomp
vindt u in "Configuratie van de pompwerking" op
pagina 16.
M
FCU1
FCU2
FCU3
T4
T5
T6
FHL1
FHL2
FHL3
T
54321
6
7
13
M
14
6
9
Wanneer meerdere lussen in het systeem door op afstand
gestuurde kleppen worden afgesloten, moet mogelijk een
omloopklep (9) worden gemonteerd om te voorkomen dat
de beveiliging met debietschakelaar wordt geactiveerd. Zie
ook "Toepassing 2" op pagina 3.
De bedrading van de 2-wegsklep (13) verschilt voor een
NC-klep (normaal gesloten) en een NO-klep (normaal
open)! Sluit de juiste aansluitpunten aan zoals
aangegeven in het bedradingsschema.
Bevestig het deksel met de schroeven en plastic ringen
wanneer u het monteert (de schroeven en plastic ringen
zitten bij de accessoires).
Onderdelen in de unit kunnen heel warm zijn.
Schakel alle voedingen uit — d.w.z. de voeding van de
buitenunit en de voeding van de backupverwarming en de
tank voor warm water voor huishoudelijk gebruik (indien
van toepassing) — voordat u het servicepaneel van de
schakelkast verwijdert.
1D_IM_4PW50203-1A.book Page 5 Thursday, January 29, 2009 10:51 AM

Table of Contents

Related product manuals