EasyManua.ls Logo

Rotex RKHBH008AA - Applicazione 4; Panoramica Dellunità Interna; Apertura Dellunità Interna

Default Icon
Print Icon
To Next Page IconTo Next Page
To Next Page IconTo Next Page
To Previous Page IconTo Previous Page
To Previous Page IconTo Previous Page
Loading...
Manuale d'installazione
5
RKHBH/X008AA
Unità interna per sistema a pompe di calore aria-acqua
4PW50203-1A
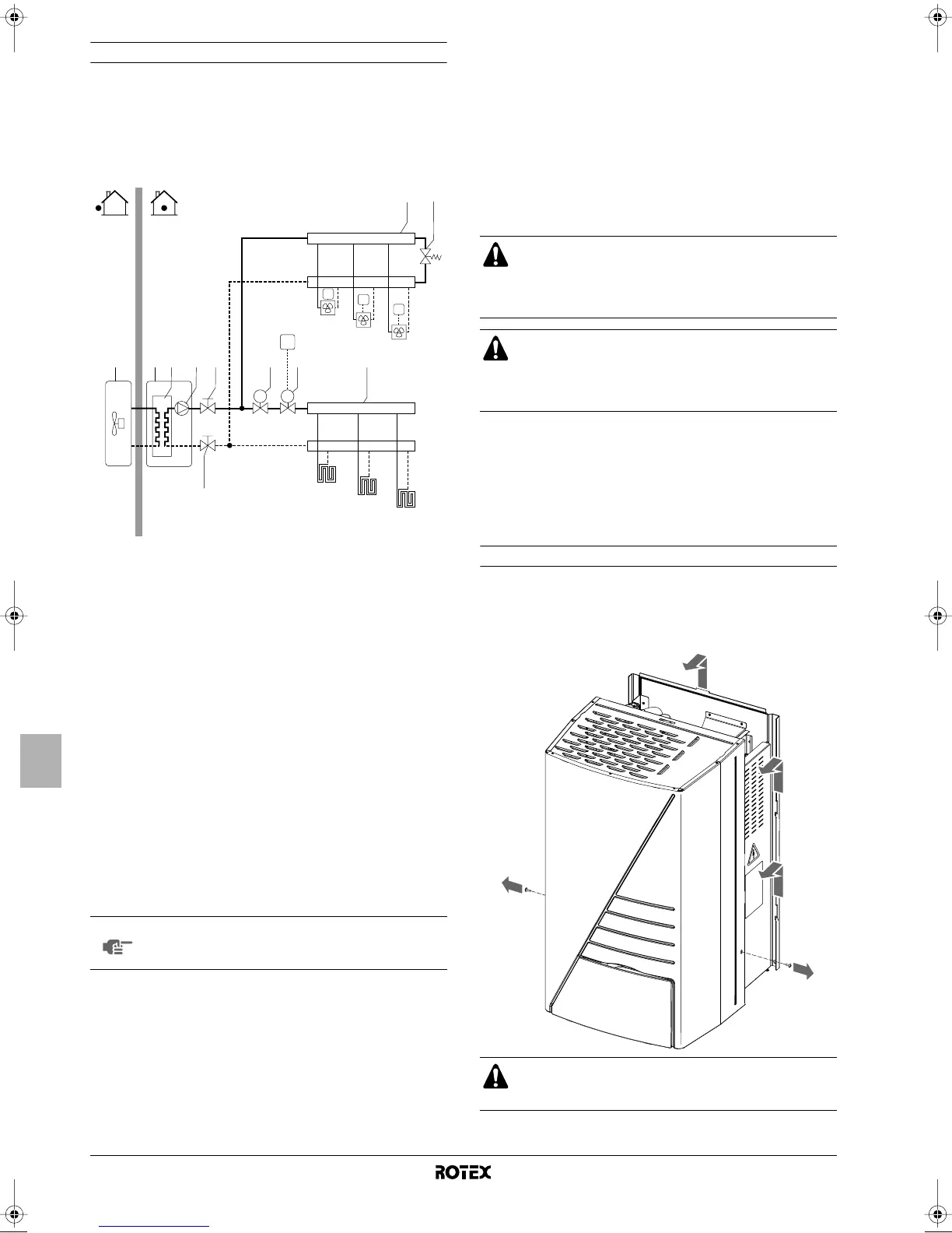
Applicazione 4
Applicazione di raffreddamento e di riscaldamento dell'ambiente
senza un termostato ambiente collegato all'unità interna, ma con
un termostato ambiente di solo riscaldamento che controlla il
riscaldamento a pavimento e un termostato di raffredda-
mento/riscaldamento che controlla i ventilconvettori. Il riscaldamento
è fornito dagli anelli di riscaldamento a pavimento e dai ventil-
convettori. Il raffreddamento è fornito solo dai ventilconvettori.
Funzionamento della pompa
Senza un termostato collegato all'unità interna (2), la pompa (4) può
essere configurata per funzionare quando è attivata l'unità interna
oppure finché non è stata raggiunta la temperatura richiesta
dell'acqua.
Riscaldamento e raffreddamento dell'ambiente
A seconda della stagione, il cliente sceglie il raffreddamento o il
riscaldamento attraverso l'interfaccia dell'utente sull'unità interna.
L'unità esterna (1) funziona in modalità di raffreddamento o di riscal-
damento per raggiungere la temperatura target dell'acqua in uscita.
Quando l'unità si trova nella modalità di riscaldamento, la valvola a
2 vie (13) è aperta. L'acqua calda viene fornita sia ai ventilconvettori
che agli anelli di riscaldamento a pavimento.
Quando l'unità si trova nella modalità di raffreddamento, la valvola a
2 vie motorizzata (13) è chiusa per impedire all'acqua fredda di
entrare negli anelli di riscaldamento a pavimento (FHL).
L'impostazione ON/OFF del funzionamento di
riscaldamento/raffreddamento viene effettuata attraverso l'interfaccia
dell'utente sull'unità interna.
PANORAMICA DELL'UNITÀ INTERNA
Apertura dell'unità interna
L'aletta anteriore sul coperchio dell'unità interna consente
l'accesso al manometro e all'interfaccia utente.
Il coperchio dell'unità interna può essere rimosso svitando le
2 viti laterali e sganciando il coperchio stesso.
1 Unità esterna 14 Valvola a 2 vie
motorizzata per
l'attivazione del
termostato ambiente
(non di fornitura)
2 Unità interna
3 Scambiatore di calore
4 Pompa
5 Valvola di chiusura FCU1..3 Ventilconvettore
con termostato
(non di fornitura)
6 Collettore
(non di fornitura)
FHL1..3 Anello di riscaldamento
a pavimento
(non di fornitura)
7 Valvola di chiusura
9 Valvola by-pass
(non di fornitura)
T Te r mostato ambiente
di solo riscaldamento
(non di fornitura)
13 Valvola a 2 vie moto-
rizzata per chiudere gli
anelli di riscaldamento
a pavimento durante
il raffreddamento
(non di fornitura)
T4..6 Te r mostato ambiente
individuale per l'ambiente
riscaldato/raffreddato
mediante
ventilconvettore
(non di fornitura)
NOTA
Per ulteriori informazioni sulla configurazione della
pompa, consultare "Configurazione di funzionamento
della pompa" a pagina 17.
M
FCU1
FCU2
FCU3
T4
T5
T6
FHL1
FHL2
FHL3
T
54321
6
7
13
M
14
6
9
Quando si chiudono svariati anelli del sistema mediante
valvole ad azionamento remoto, potrebbe essere
necessario installare una valvola by-pass (9) per evitare
l'attivazione del dispositivo di sicurezza del flussostato.
Consultare anche "Applicazione 2" a pagina 3.
Il collegamento della valvola a 2 vie (13) è diverso per una
valvola normale chiusa (Normal Closed, NC) e una valvola
normale aperta (Normal Open, NO)! Collegarsi ai numeri
di terminale corretti come indicato nel diagramma dei
collegamenti elettrici.
Fissare il coperchio con le viti e le rosette di nylon al
momento dell'installazione (le viti e le rosette di nylon sono
accessori in dotazione con l'unità).
1D_IM_4PW50203-1A.book Page 5 Thursday, January 29, 2009 10:51 AM

Table of Contents

Related product manuals