EasyManua.ls Logo

Rotex RKHBH008AA - Panorâmica da Unidade Interior; Abertura da Unidade Interior

Default Icon
Print Icon
To Next Page IconTo Next Page
To Next Page IconTo Next Page
To Previous Page IconTo Previous Page
To Previous Page IconTo Previous Page
Loading...
Manual de instalação
5
RKHBH/X008AA
Unidade interior para o sistema de bomba de calor ar/água
4PW50203-1A
Aplicação 4
Aplicações de climatização (aquecimento e refrigeração) sem
ligação de um termóstato de divisão à unidade interior, por
recurso a um termóstato apenas de aquecimento, para controlar o
aquecimento do piso, e a um termóstato de refrigeração e aqueci-
mento, para controlar os ventilo-convectores. O aquecimento é
efectuado através dos circuitos de aquecimento do piso e das
unidades de ventilo-convecção. A refrigeração é efectuada exclusiva-
mente através das unidades de ventilo-convecção.
Funcionamento da bomba
Sem nenhum termóstato ligado à unidade interior (2), a bomba (4)
pode ser configurada para trabalhar enquanto a unidade interior
estiver ligada, ou só até ser alcançada a temperatura pretendida da
água.
Climatização (aquecimento e refrigeração)
Conforme a estação do ano, o cliente deve escolher refrigeração ou
aquecimento na interface de utilizador da unidade interior.
A unidade de exterior (1) trabalhar em modo de refrigeração ou de
aquecimento, para alcançar a temperatura pretendida para a saída
de água.
Com a unidade no modo de aquecimento, abre-se a válvula de 2 vias
(13). A água quente é fornecida quer aos ventilo-convectores, que
aos circuitos de aquecimento do piso.
Com a unidade no modo de refrigeração, a válvula motorizada de
2 vias (13) fecha-se, para evitar que a água fria percorra os circuitos
de aquecimento do piso (FHL).
A determinação do funcionamento (ligar ou desligar o aquecimento
ou a refrigeração) é efectuada pela interface de utilizador da unidade
interior.
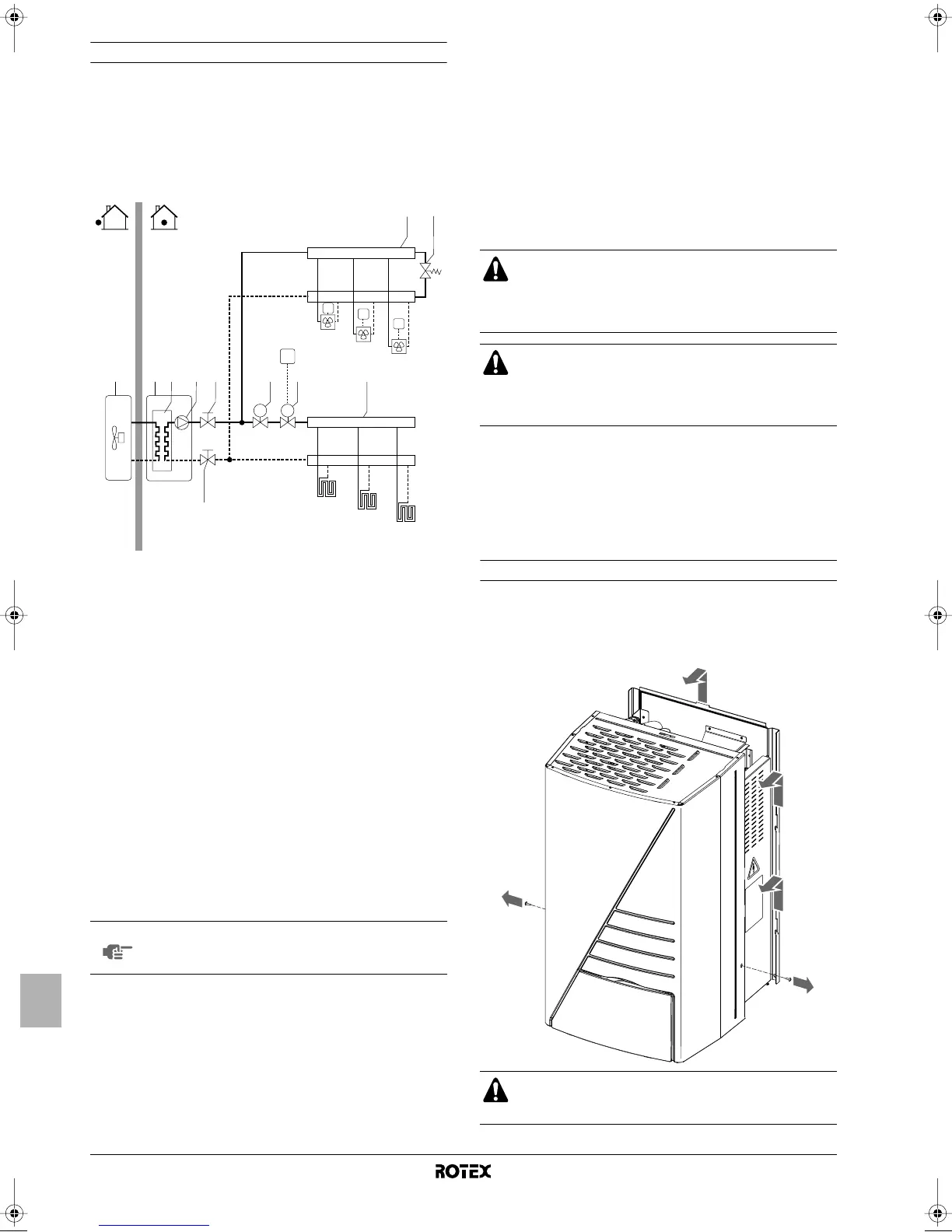
PANORÂMICA DA UNIDADE INTERIOR
Abertura da unidade interior
A portinhola frontal da tampa da unidade interior dá acesso ao
manómetro e à interface de utilizador.
A tampa da unidade interior pode ser retirada, removendo os
2 parafusos laterais e desencaixando-a.
1 Unidade de exterior 14 Válvula motorizada de
2 vias, para activação
do termóstato da divisão
(fornecimento local)
2 Unidade interior
3 Permutador de calor
4 Bomba FCU1..3 Ventilo-convector com
termóstato (fornecimento
local)
5 Válvula de fecho
6 Colector (fornecimento
local)
FHL1..3 Circuito de aquecimento
de piso (fornecimento
local)
7 Válvula de fecho
9 Válvula de derivação
(fornecimento local)
T Te r móstatos só de
aquecimento
(fornecimento local)
13 Válvula motorizada de
2 vias para corte dos
circuitos de
aquecimento do piso
durante a refrigeração
(fornecimento local)
T4..6 Te r móstatos de cada
divisão, para controlo
dos ventilo-convectores
de aquecimento e
refrigeração
(fornecimento local)
NOTA
Para obter mais pormenores acerca da configuração
da bomba, consulte "Configuração do funcionamento
da bomba" na página 17.
M
FCU1
FCU2
FCU3
T4
T5
T6
FHL1
FHL2
FHL3
T
54321
6
7
13
M
14
6
9
Se fechar vários circuitos do sistema através de válvulas
de controlo à distância, pode ser necessário instalar uma
válvula de derivação (9) para evitar a activação do
fluxóstato de protecção. Consulte também "Aplicação 2"
na página 3.
A ligação da válvula de 2 vias (13) é diferente de uma
válvula NC ("normalmente fechada") ou NO ("normal-
mente aberta")! Certifique-se de que liga os terminais com
os números correctos, como se pormenoriza no esquema
eléctrico.
Certifique-se de que fixa a tampa com os parafusos e
anilhas de nylon (fornecidos como acessórios), depois de
a pôr no sítio.
1D_IM_4PW50203-1A.book Page 5 Thursday, January 29, 2009 10:51 AM

Table of Contents

Related product manuals