EasyManua.ls Logo

Rotex RKHBH008AA - Overview of the Indoor Unit; Accessing Unit Components; Pump Operation Without Thermostat

Default Icon
Print Icon
To Next Page IconTo Next Page
To Next Page IconTo Next Page
To Previous Page IconTo Previous Page
To Previous Page IconTo Previous Page
Loading...
RKHBH/X008AA
Indoor unit for air to water heat pump system
4PW50203-1A
Installation manual
5
Pump operation
With no thermostat connected to the indoor unit (2), the pump (4) can
be configured to operate either as long as the indoor unit is on, or
until the required water temperature is reached.
Space heating and cooling
According to the season, the customer will select cooling or heating
through the user interface on the indoor unit.
The outdoor unit (1) will operate in cooling mode or heating mode to
achieve the target leaving water temperature.
With the unit in heating mode, the 2-way valve (13) is open. Hot water
is provided to both the fan coil units and the floor heating loops.
With the unit in cooling mode, the motorised 2-way valve (13) is
closed to prevent cold water running through the floor heating loops
(FHL).
The ON/OFF setting of the heating/cooling operation is done by the
user interface on the indoor unit.
OVERVIEW OF THE INDOOR UNIT
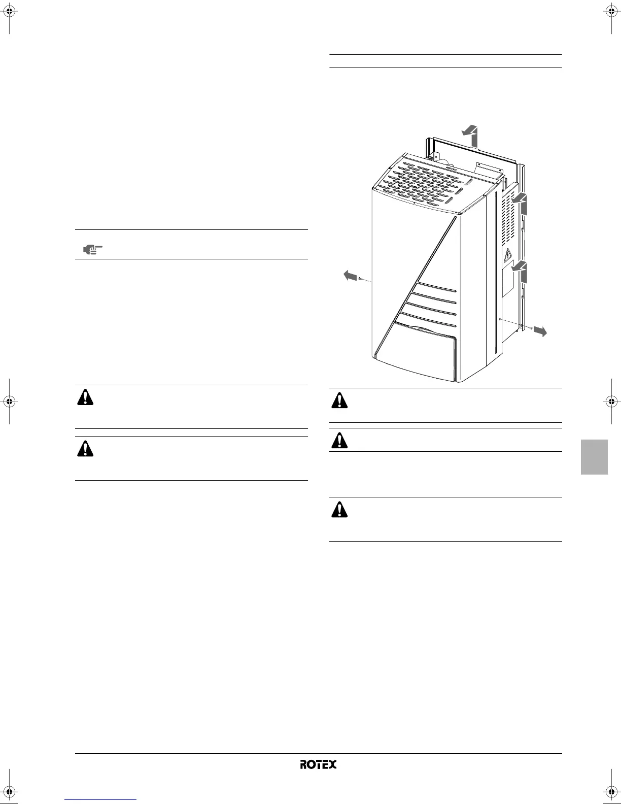
Opening the indoor unit
The front flap on the indoor unit cover gives access to the
manometer and user interface.
The indoor unit cover can be removed by removing the 2 side
screws and unhitching the cover.
To gain access to the switch box components – e.g. to connect
the field wiring – the switch box service panel can be removed.
Thereto, loosen the front screws and unhitch the switch box
service panel.
1 Outdoor unit 14 Motorised 2-way valve for
activation of the room
thermostat (field supply)
2 Indoor unit
3 Heat exchanger
4 Pump FCU1..3 Fan coil unit with
thermostat (field supply)
5 Shut-off valve
6 Collector (field supply) FHL1..3 Floor heating loop (field
supply)
7 Shut-off valve
9 By-pass valve (field
supply)
T Heating only room
thermostat (field supply)
13 Motorised 2-way valve
to shut off the floor
heating loops during
cooling operation (field
supply)
T4..6 Individual room
thermostat for fan coil
heated/cooled room (field
supply)
NOTE
Details on pump configuration can be found under
"Pump operation configuration" on page 16.
When closing several loops in the system by remotely
controlled valves, it might be required to install a by-pass
valve (9) to avoid the flow switch safety device from being
activated. See also "Application 2" on page 3.
Wiring of the 2-way valve (13) is different for a NC (normal
closed) valve and a NO (normal open) valve! Make sure to
connect to the correct terminal numbers as detailed on the
wiring diagram.
Make sure to fix the cover with the screws and nylon
washers when installing the cover (screws and nylon
washers are delivered as accessory).
Parts inside the unit can be hot.
Switch off all power supply — i.e. outdoor unit power
supply and backup heater and domestic hot water tank
power supply (if applicable) — before removing the switch
box service panel.
1D_IM_4PW50203-1A.book Page 5 Thursday, January 29, 2009 10:51 AM

Table of Contents

Related product manuals