EasyManua.ls Logo

Schweitzer Engineering Laboratories SEL-251 - Trip-Saving Scheme

Schweitzer Engineering Laboratories SEL-251
208 pages
Print Icon
To Next Page IconTo Next Page
To Next Page IconTo Next Page
To Previous Page IconTo Previous Page
To Previous Page IconTo Previous Page
Loading...
5-4 Applications Date Code 20000421
SEL-251, -2, -3 Instruction Manual
50NL is disabled for time period 52APU after the circuit breaker closes (52AT = 0). The
52APU setting should be long enough to allow the tap fuse to clear the fault. Time period
52ADO is set to zero, or at least shorter than any reclosing relay open interval time.
A fuse-saving scheme using the 52AT bit makes only one attempt to save the fuse at the first
reclosing cycle trip.
TRIP-SAVING SCHEME
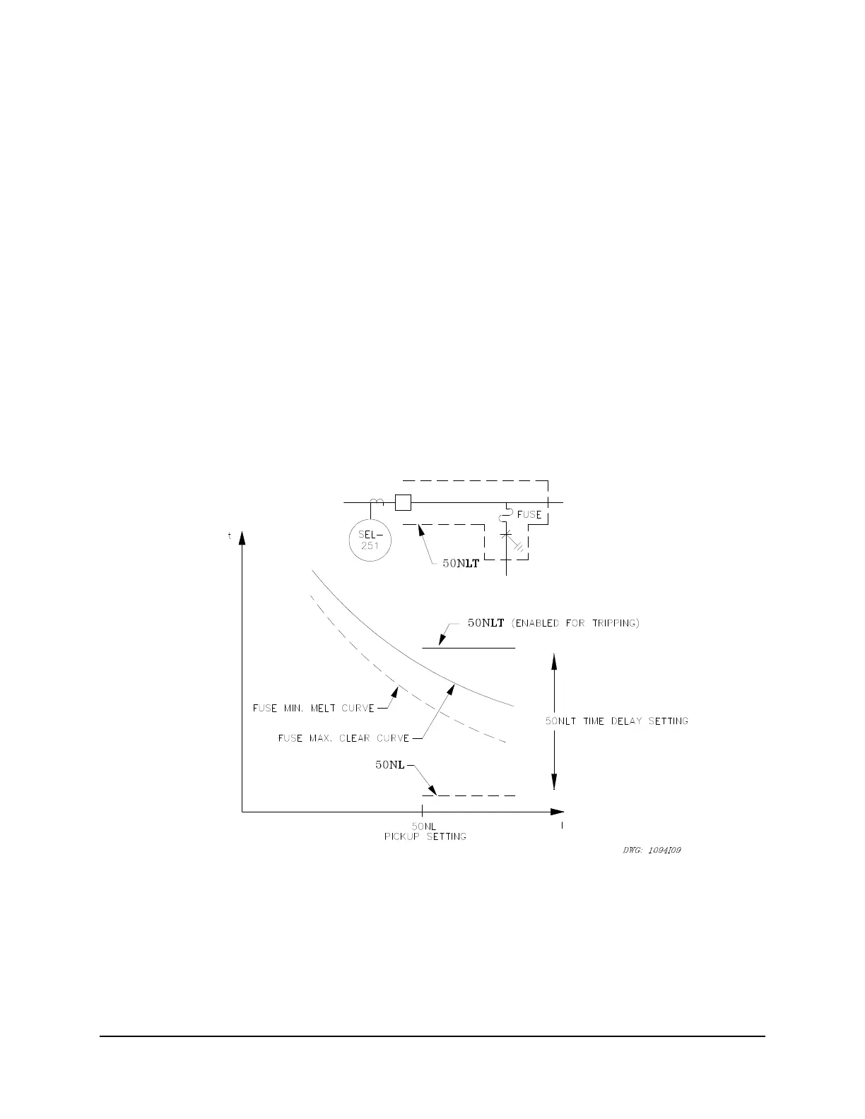
Trip saving is the opposite of fuse saving. In a trip-saving scheme, the SEL-251 Relay definite-
time overcurrent elements have total coordination with tap fuses near the substation. No attempt
is made to save the fuse in a fault situation. For a fault to the load side of a tap fuse, the fuse will
clear the fault and the SEL-251 Relay will not operate at all. A ground coordination example
follows.
Using SELOGIC Control Equations:
TR(1246) = 50NLT+... (TR is the programmable trip condition)
close TRIP output contacts = TR + ...
Figure 5.4: Trip Saving Using Ground/Residual Elements
The benefits of trip-saving schemes are:
The substation circuit breaker does not trip for faults beyond other protective devices
(assuming proper coordination); faults are isolated locally, minimizing the number of
customers affected by the outage.

Table of Contents