EasyManua.ls Logo

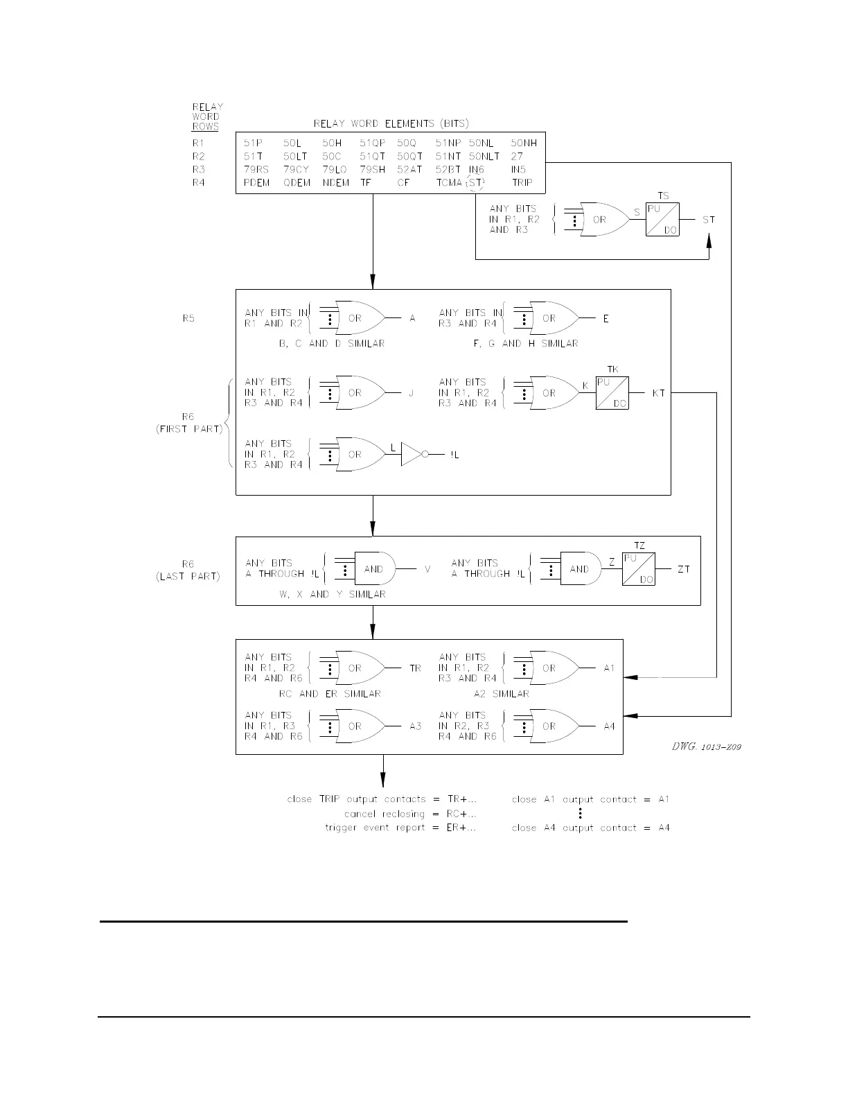
Schweitzer Engineering Laboratories SEL-251 - Select Combinations of Relay Elements for Tripping and Other Purposes; Figure 2.6: SEL-251 Relay SEL OGIC Control Equations Block Diagram

Schweitzer Engineering Laboratories SEL-251
208 pages
Print Icon
To Next Page IconTo Next Page
To Next Page IconTo Next Page
To Previous Page IconTo Previous Page
To Previous Page IconTo Previous Page
Loading...
Date Code 20000421 Specifications 2-13
SEL-251, -2, -3 Instruction Manual
Figure 2.6: SEL-251 Relay SELOGIC Control Equations Block Diagram
Select Combinations of Relay Elements for Tripping and Other Purposes
The 48-bit Relay Word contains relay elements, intermediate logic results, and programmable
logic variables.

Table of Contents

Related product manuals