EasyManua.ls Logo

Skyjack SJ12 E - Platform Assembly

Skyjack SJ12 E
92 pages
Print Icon
To Next Page IconTo Next Page
To Next Page IconTo Next Page
To Previous Page IconTo Previous Page
To Previous Page IconTo Previous Page
Loading...
36
SJ12 E, SJ16 E, SJ20 E243762ABA
Section 4 – Inspections Before Operation
Visual and daily maintenance inspections
4.2-7 Platform assembly
Do the inspection that follows:
WARNING
Fall hazard. Use the three points of contact
principle when you use the MEWP to enter or exit
the platform. If you do not obey, there is a risk of
death or serious injury.
1. Enter the platform and close the gate.
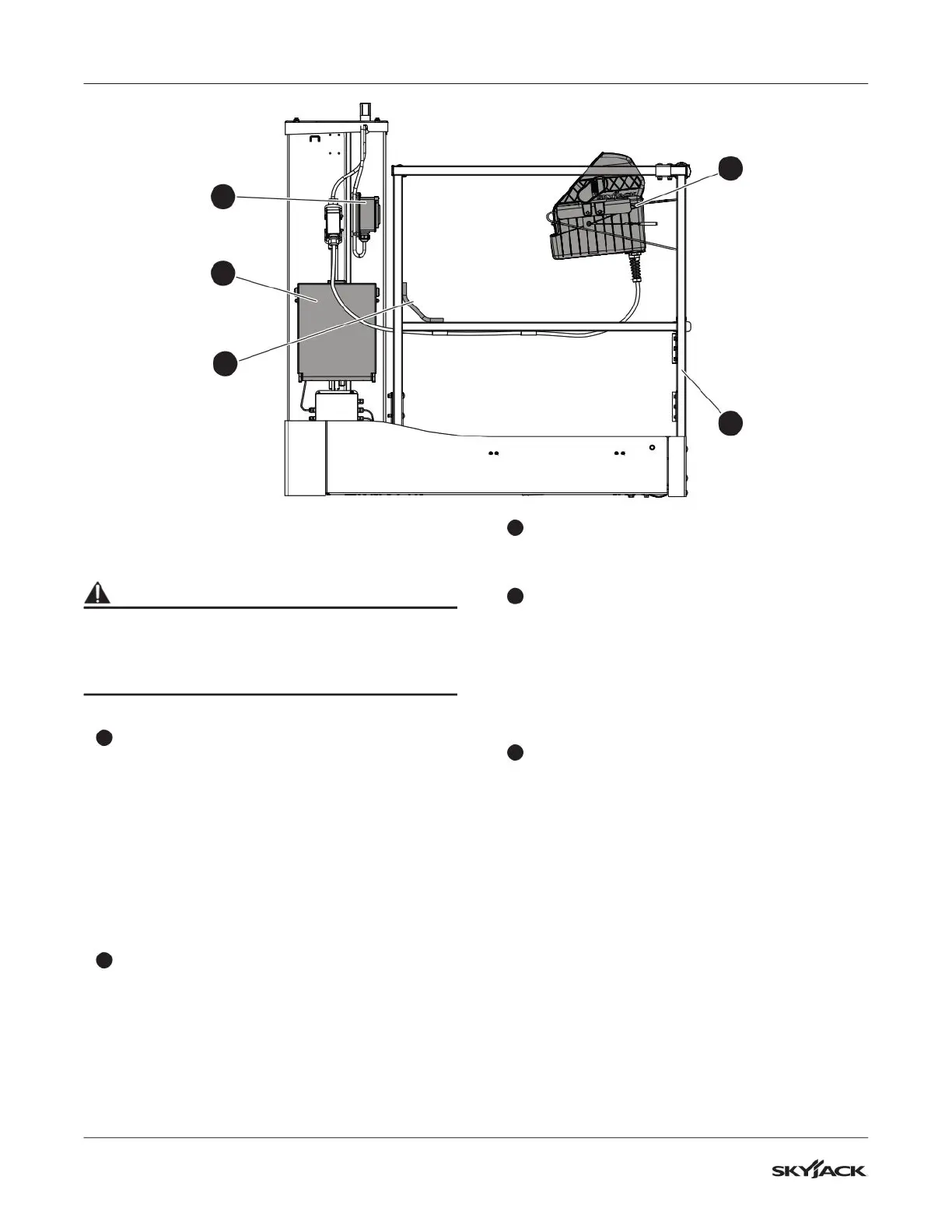
1
Platform
Make sure there are no loose or missing parts,
and there is no visible damage.
Make sure all railings are correctly installed.
Make sure all fasteners are tight.
Make sure the gate is in good condition and
operates correctly.
Make sure the platform foot pedal is in good
working order, it has no loose or missing parts,
and there is no visible damage.
2
Fall-protection anchorages
Make sure the fall-protection anchorages are
correctly attached.
Make sure the fall protection anchorages show
no signs of visible damage, deformation, or
cracks.
3
AC power socket
Make sure the socket is free of dirt or
blockages.
4
Platform control console
Make sure the control console is locked with
the lock pin.
Make sure the platform control cable is
correctly locked, and there is no visible
damage.
2. Exit the platform, and close the gate.
5
Manual storage box
Make sure the operation manual and other
important documents are in the manual
storage box.
Make sure the documents are in good
condition, and you can read them.
1
4
3
5
2

Table of Contents

Other manuals for Skyjack SJ12 E

Related product manuals