EasyManua.ls Logo

Strobel KA-ED - Setting the Helipot (Fig. 20)

Default Icon
78 pages
Print Icon
To Next Page IconTo Next Page
To Next Page IconTo Next Page
To Previous Page IconTo Previous Page
To Previous Page IconTo Previous Page
Loading...
37 BA_KA-ED_A22_190313_en.doc
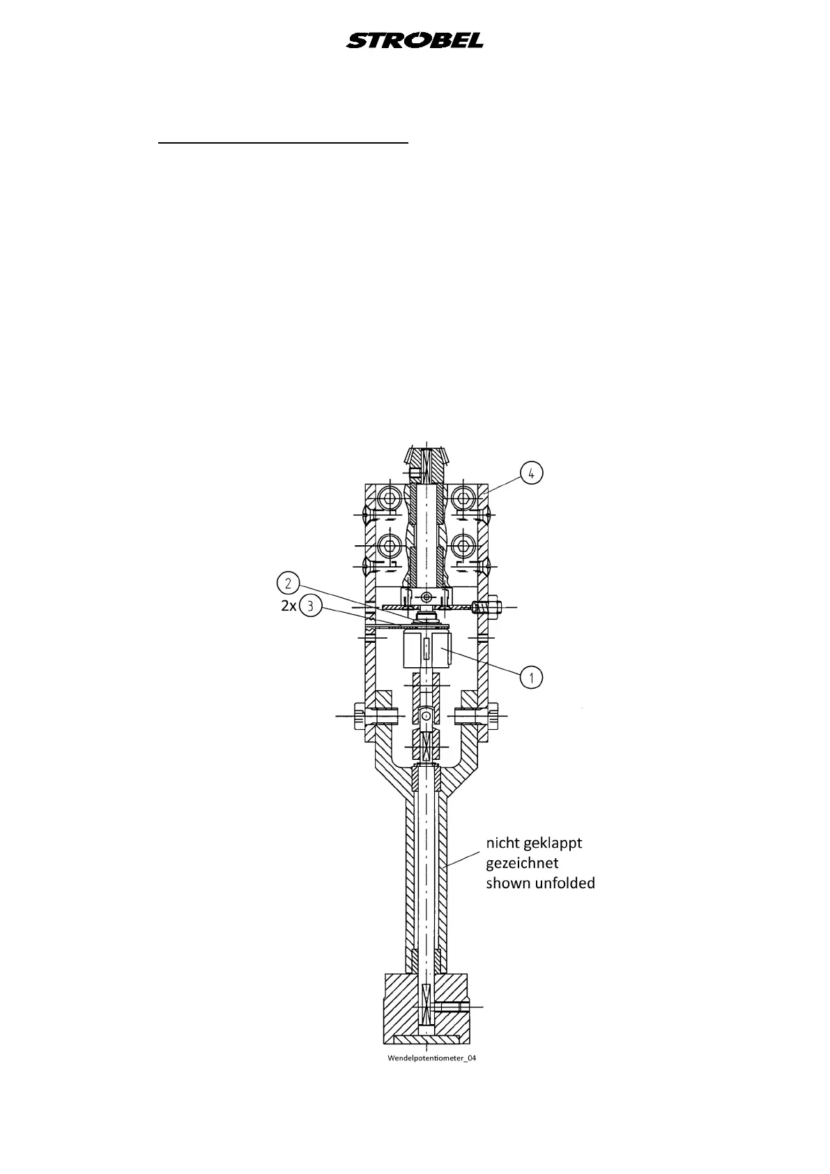
5.4 Setting the helipot (Fig. 20)
- Unscrew hexagonal nut (2) from helipot (1). You may now adjust (set) the
helipot.
- Set the plunger all the way up with the stitch depth controller.
- Set the helipot so that 010-012 appears on the display and then refasten
hexagonal nuts on helipot (make sure both halves of the adjustment plate (3)
are securely fastened to plate (4)). 010-012 should now appear on the digital
display.
ATTENTION:
If incorrect parameters are set, the helipot may be damaged
or destroyed.
Fig. 20

Table of Contents

Related product manuals