EasyManua.ls Logo

Strobel KA-ED - Page 46

Default Icon
78 pages
Print Icon
To Next Page IconTo Next Page
To Next Page IconTo Next Page
To Previous Page IconTo Previous Page
To Previous Page IconTo Previous Page
Loading...
42 BA_KA-ED_A22_190313_en.doc
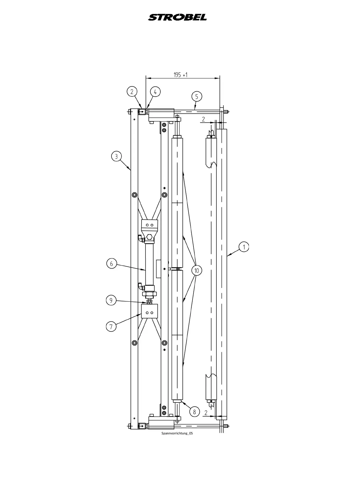
Fig. 24

Table of Contents

Related product manuals