EasyManua.ls Logo

Supero C2G41 - Installing a Passive Cpu Heatsink

Supero C2G41
93 pages
Print Icon
To Next Page IconTo Next Page
To Next Page IconTo Next Page
To Previous Page IconTo Previous Page
To Previous Page IconTo Previous Page
Loading...
Chapter 2: Installation
2-11
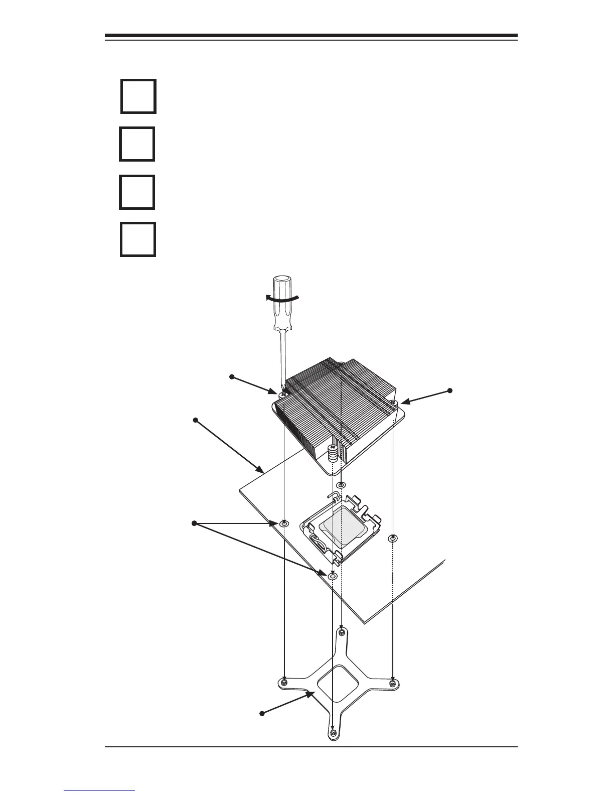
Do not apply any thermal grease to the heatsink or the CPU die -- the required
amount has already been applied.
Installing a Passive CPU Heatsink
Screw#1
Screw#2
Motherboard
Mounting
Holes
Finish the installation by fully tightening all four screws.
Screw in two diagonal screws (i.e., the #1 and the #2 screws) until just snug
(do not over-tighten the screws to avoid possible damage to the CPU.)
Place the heatsink on top of the CPU so that the four mounting holes are
aligned with those on the Motherboard's and the Heatsink Bracket under-
neath.
1
2
3
4
Heatsink Bracket
Note: Heatsink and hardware are not supplied with the motherboard.

Table of Contents

Related product manuals