EasyManua.ls Logo

Talkswitch TS-350i - Phone Information

Talkswitch TS-350i
80 pages
Print Icon
To Next Page IconTo Next Page
To Next Page IconTo Next Page
To Previous Page IconTo Previous Page
To Previous Page IconTo Previous Page
Loading...
34 TS-350i USER GUIDE
INFORMATION
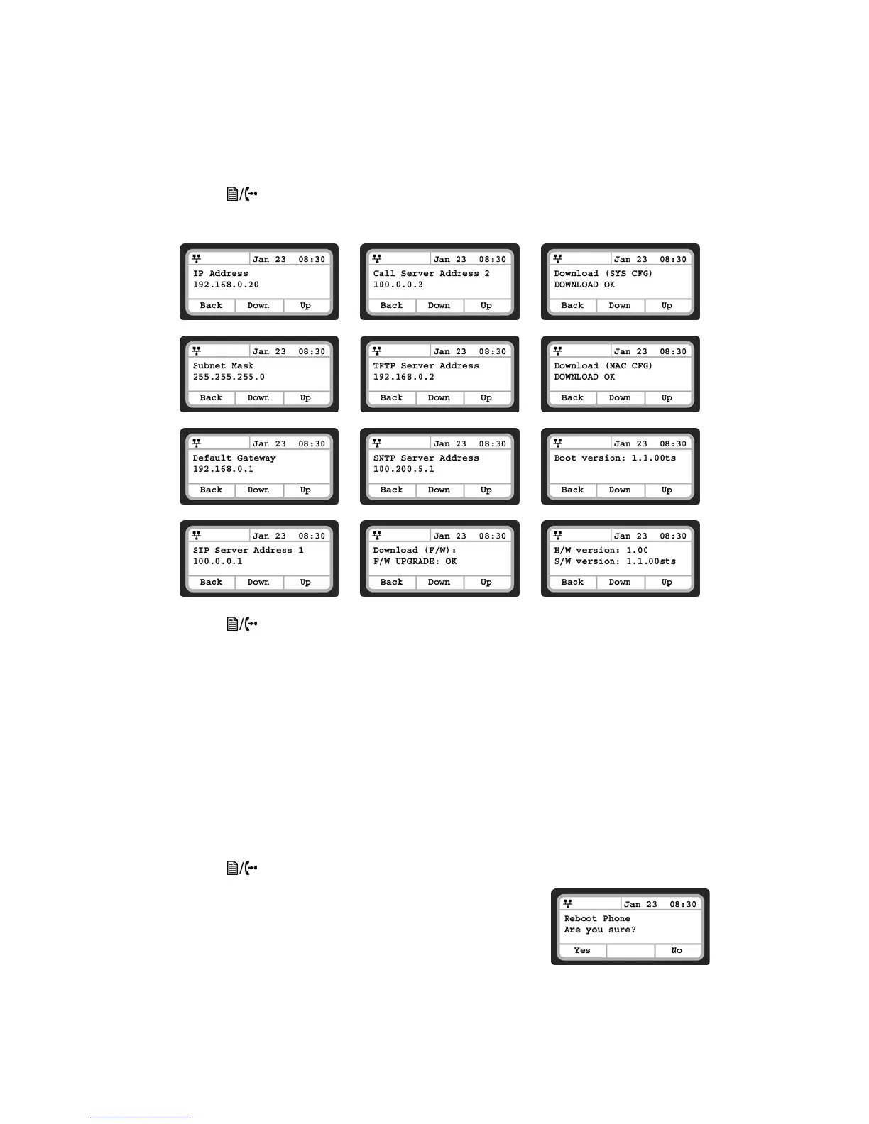
The TS-350i phone provides the means to quickly view the network parameters (IP address, default
gateway address, and subnet-mask), server IP addresses (SIP serveres, TFTP server, and SNTP server),
results of the last file download attempt, boot version, hardware and firmware version.
Press the button, then select 8. Information.
Press the Up or Down softkeys to scroll through the parameters.
Press the button to exit the menu.
REBOOT
After changing certain parameters, the phone will require a reboot to utilize the settings. These settings
include the following:
— Network Configuration settings
— TFTP Server Address settings
— Software Update settings
— Default settings
— After a TalkSwitch phone system firmware update, new features might be enabled so a reboot is a
good idea to ensure consistent behavior.
To reboot the phone:
Press the button, then select 9. Reboot.
Press the Yes softkey to reboot the phone, or press No to cancel this
menu.
If you press No, any parameter changes will only update after the
next reboot.

Table of Contents

Other manuals for Talkswitch TS-350i

Related product manuals