EasyManua.ls Logo

Technogym Top 600 XTPRO - Wiring Diagram with Non-Coded Receiver

Technogym Top 600 XTPRO
94 pages
Print Icon
To Next Page IconTo Next Page
To Next Page IconTo Next Page
To Previous Page IconTo Previous Page
To Previous Page IconTo Previous Page
Loading...
TOP 600 XTPRO: Service & Maintenance Manual - rev. 2.0
Page 2.2
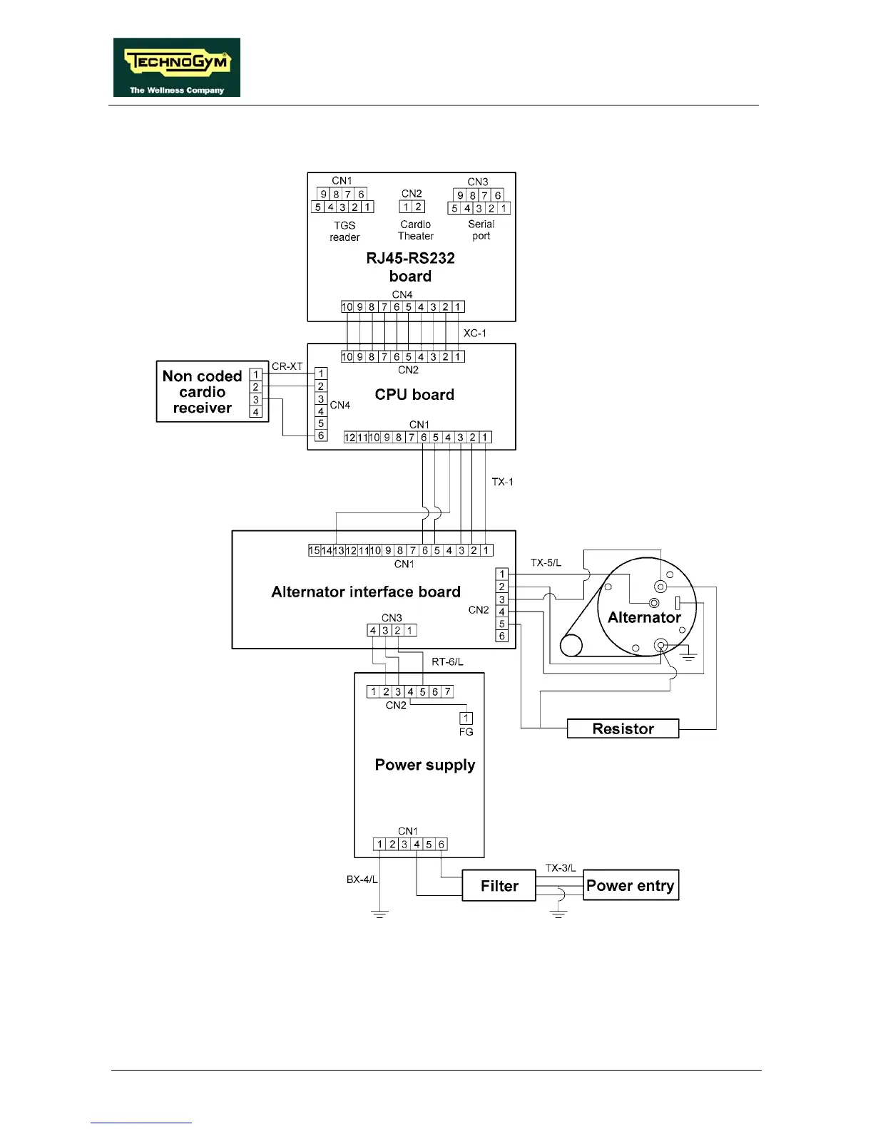
2.5. WIRING DIAGRAM WITH NON-CODED RECEIVER

Table of Contents

Related product manuals