EasyManua.ls Logo

Technogym Top 600 XTPRO - 3 Principles of Operation; Block Diagram; Display

Technogym Top 600 XTPRO
94 pages
Print Icon
To Next Page IconTo Next Page
To Next Page IconTo Next Page
To Previous Page IconTo Previous Page
To Previous Page IconTo Previous Page
Loading...
TOP 600 XTPRO: Service & Maintenance Manual - rev. 2.0
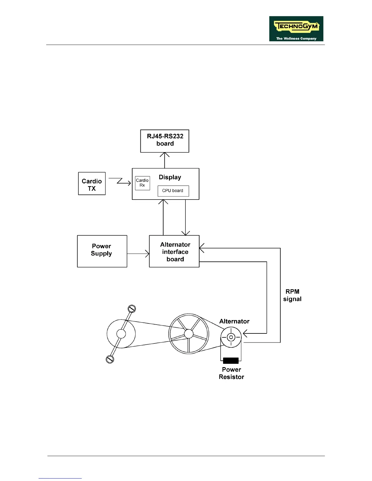
3. PRINCIPLES OF OPERATION
3.1. BLOCK DIAGRAM
The block diagram of the machine is shown in the figure below:
3.1.1. DISPLAY
It consists of various components that will be individually described below:
CARDIO RECEIVER
It is connected to the machine’s CPU board and receives the pulses sent by the transmitter. There
are 2 types of receiver:
Page 3.1

Table of Contents

Related product manuals