EasyManua.ls Logo

Technogym Top 600 XTPRO - Wiring Diagram with Coded Receiver

Technogym Top 600 XTPRO
94 pages
Print Icon
To Next Page IconTo Next Page
To Next Page IconTo Next Page
To Previous Page IconTo Previous Page
To Previous Page IconTo Previous Page
Loading...
TOP 600 XTPRO: Service & Maintenance Manual - rev. 2.0
Page 2.6
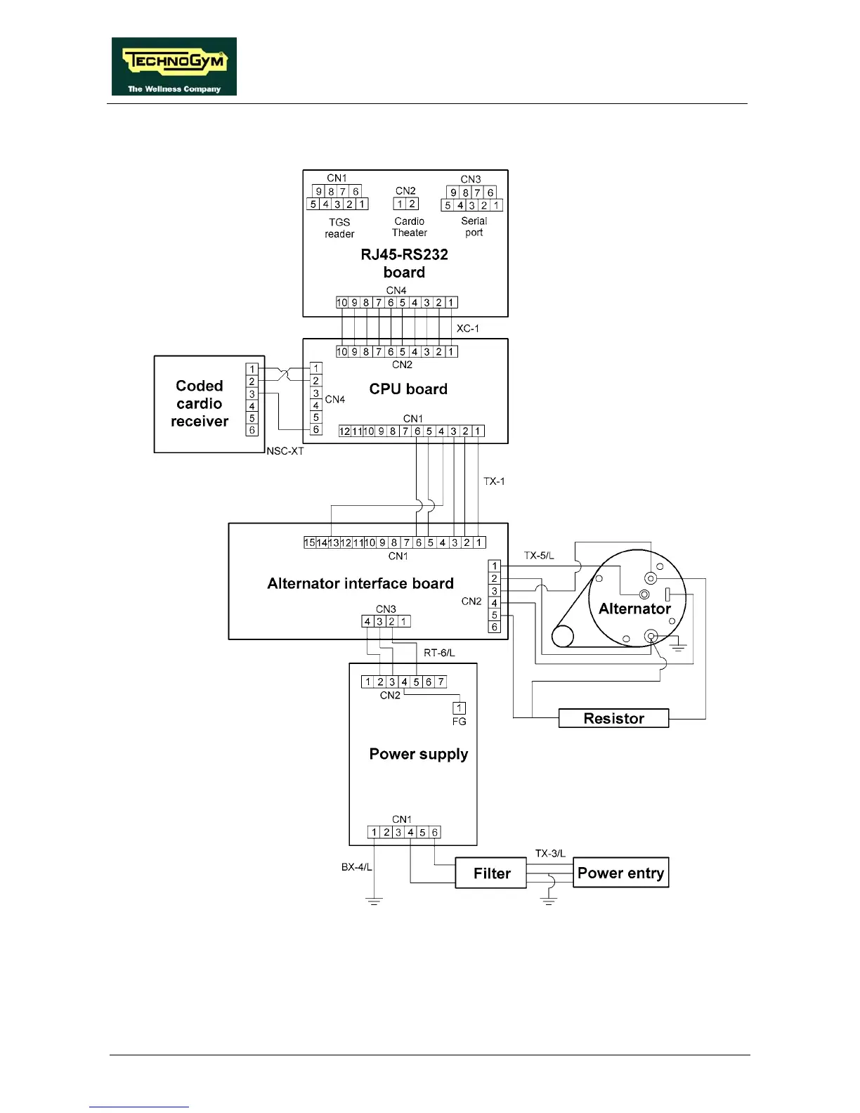
2.6. WIRING DIAGRAM WITH CODED RECEIVER
The only difference compared to the model with non-coded receiver is the NSC-XT cable between
the CPU board and the coded receiver, which is described below:

Table of Contents

Related product manuals