EasyManua.ls Logo

Telit Wireless Solutions ME910G1 - Reel; Carrier Tape Detail

Telit Wireless Solutions ME910G1
93 pages
To Next Page IconTo Next Page
To Next Page IconTo Next Page
To Previous Page IconTo Previous Page
To Previous Page IconTo Previous Page
Loading...
ME910G1 Hardware Design Guide
1VV0301593 Rev.12 Page 74 of 93 2021-09-24
Not Subject to NDA
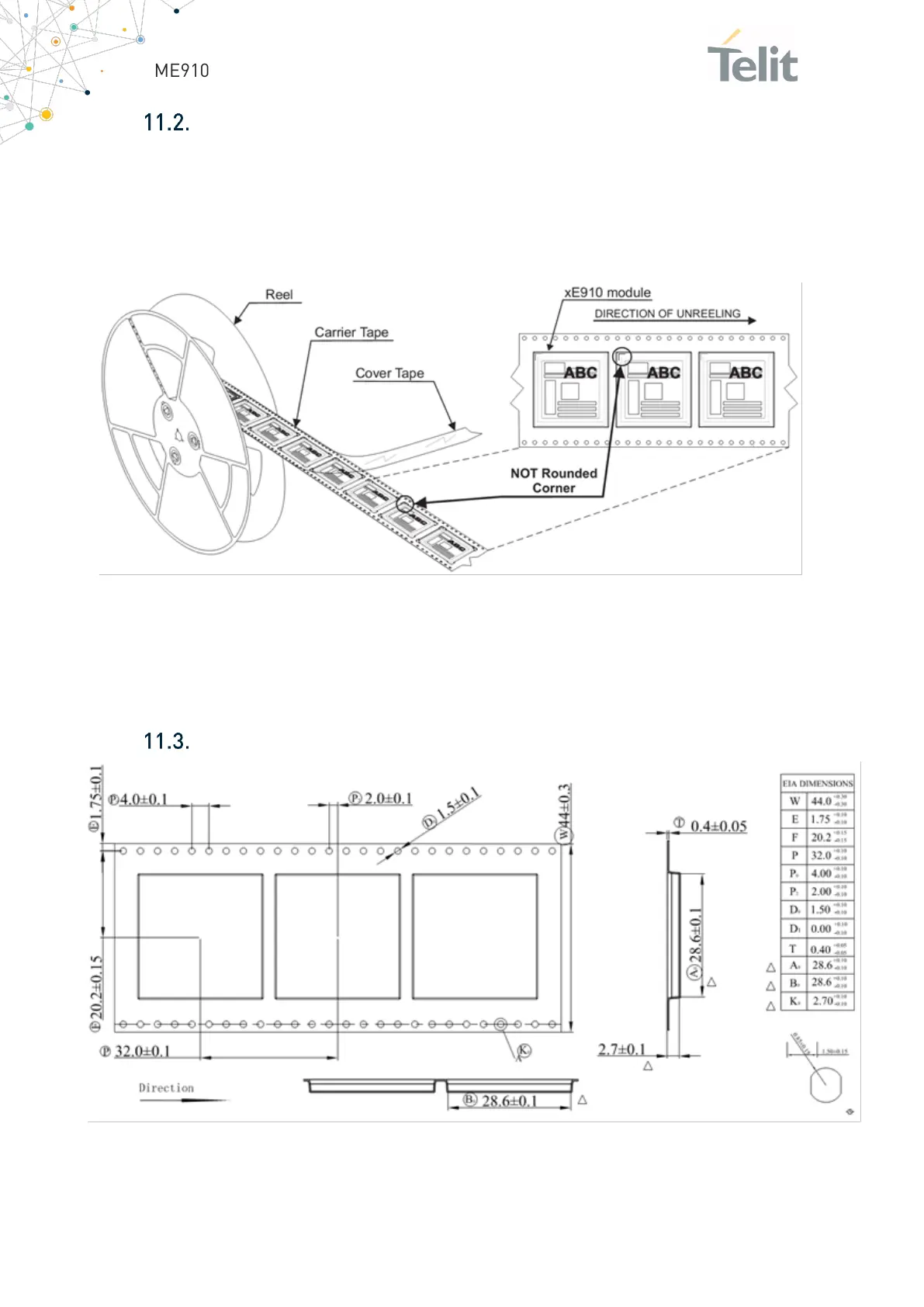
Reel
The ME910 can be packaged on reels of 200 pieces each. See figure for module
positioning into the carrier.
Figure 33: Module positioning into the carrier
Carrier Tape Detail
Figure 34: Carrier Tape detail

Table of Contents

Other manuals for Telit Wireless Solutions ME910G1

Related product manuals