EasyManua.ls Logo

TOA-DKK CD-36D - Piping

TOA-DKK CD-36D
46 pages
Print Icon
To Next Page IconTo Next Page
To Next Page IconTo Next Page
To Previous Page IconTo Previous Page
To Previous Page IconTo Previous Page
Loading...
Model: CD-36D 8.4 Piping
-
38
-
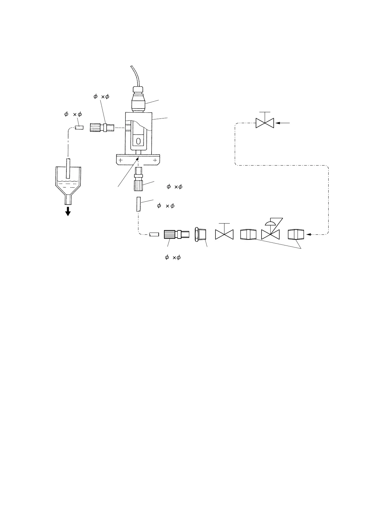
8.4 Piping
Discharge
Open to
the air.
Sample Inlet
Detector
(CLV Series or Model: CLR-21-A)
Flow Cell
(Model: CLZ-1)
Tube ( 6 4)
Tube Joint
(1/4- 6 4)
Tube Joint
(1/4- 6 4)
Tube (Polyethylene)
( 6 4)
Flow Regulating
Valve
Tube Joint
(1/4- 6 4)
Bushing
(1/4-1/2)
Nipple (1/2)
Primary side: 0.1 to 0.7MPa
Secondary side: 0.05 to 0.1MPa
Pressure Reducer
Stop Valve
Sampling Point
Example of Piping
(a) Install a pressure reducer to make the line pressure constant, and a flow regulating valve after the
pressure reducer in order to ensure a constant flow of the sample even if the pressure on the side of
the sampling point fluctuates as shown in the figure above.
(b) The final end of the sample outlet line should be sloped down and opened to the air so that no back
pressure will be on the flow cell.
(c) As for the flow rate, set it to ca. 100mL/min first on trial. Then, set it to the one within the range of
50 to 200mL/min which will be the most suitable depending on the actual conditions.
Since the flow rate of 100mL/min, roughly speaking, is almost equal to the amount of half a glass
in a minute, measure and confirm the flow rate of the sample water on the sample outlet side.

Related product manuals