EasyManua.ls Logo

TurboChef Double Batch - Oven Door

TurboChef Double Batch
78 pages
Print Icon
To Next Page IconTo Next Page
To Next Page IconTo Next Page
To Previous Page IconTo Previous Page
To Previous Page IconTo Previous Page
Loading...
A-4
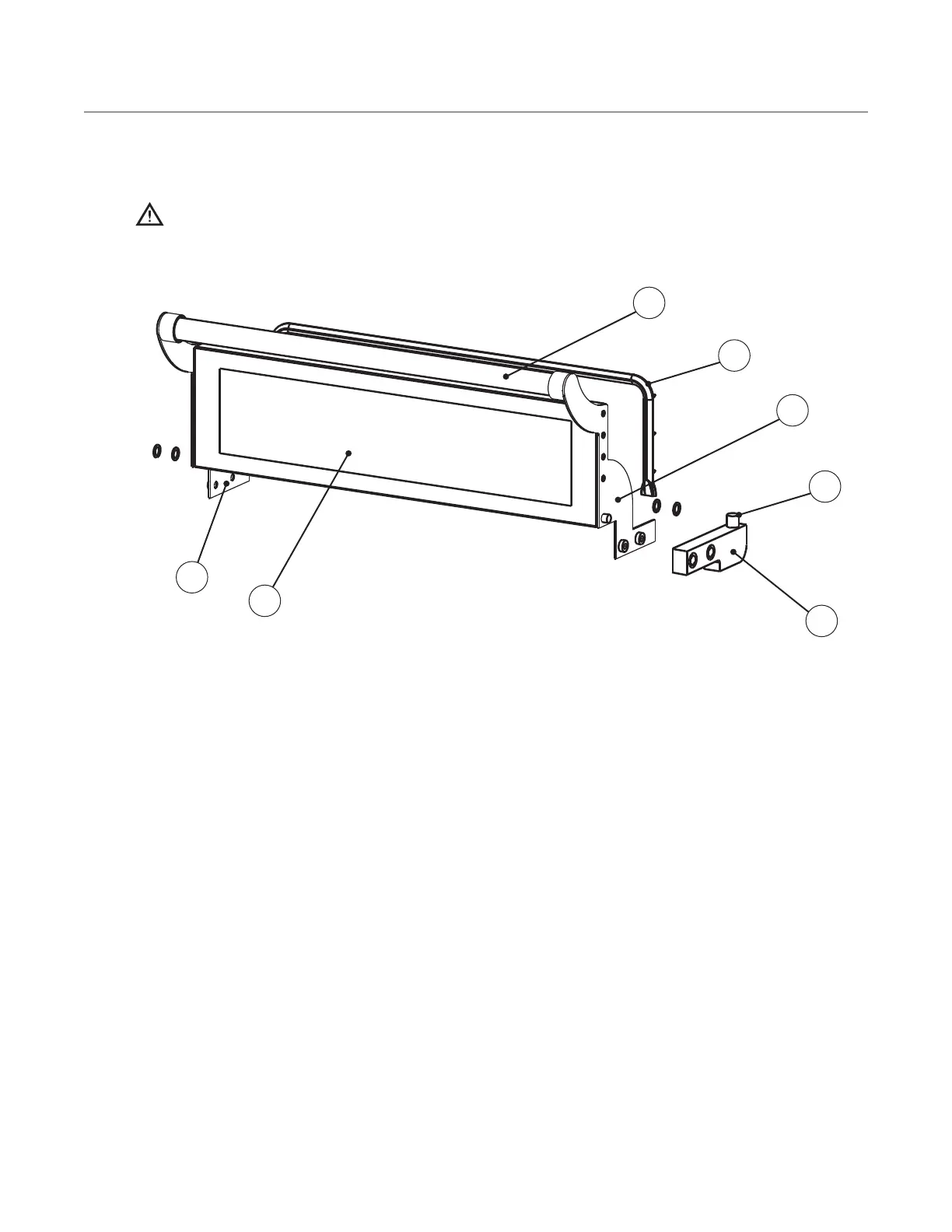
APPENDIX  REPLACING OVEN COMPONENTS
2
Oven Door
WARNING: Before removing any oven part, be sure the oven has completed “cooling down” (see
“Step 10” on page 11) and is removed from the power source.
7
1
3
6
5
4

Table of Contents

Related product manuals