EasyManua.ls Logo

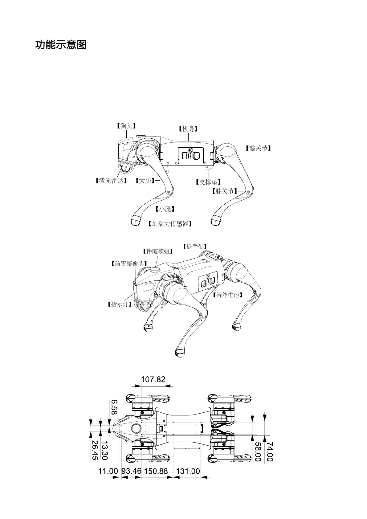
Unitree Go2 EDU - 功能示意图

Unitree Go2 EDU
48 pages
Print Icon
To Next Page IconTo Next Page
To Next Page IconTo Next Page
To Previous Page IconTo Previous Page
To Previous Page IconTo Previous Page
Loading...
© 2023 宇树科技 版权所 5
Go2-EDU 型号在常规功能加强激光带屏遥控
可选 40-100Tops
理能力,支持多种EDU SDK
开发文档,无论是初学者还是有经验的开发者,都可
背部负载安装孔位图
单位:mm

Related product manuals