EasyManua.ls Logo

Volvo Penta TAMD22 - Charge Air Cooler (CAC), Reconditioning (20 A-12)

Volvo Penta TAMD22
132 pages
Print Icon
To Next Page IconTo Next Page
To Next Page IconTo Next Page
To Previous Page IconTo Previous Page
To Previous Page IconTo Previous Page
Loading...
109
Cooling system
6
Place a new manifold gasket in position over the
guide pins in the cylinder head (A1). You do not
need to use any sealing compound. Check that the
gasket is correctly installed.
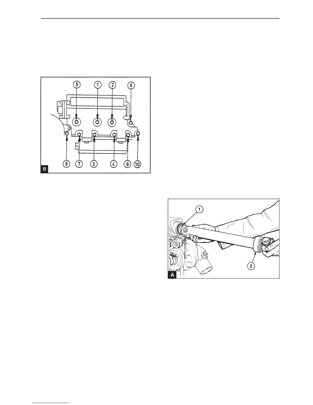
7
Place the unit in position on the cylinder head and
install the mounting screws. Tighten the screws
evenly in stages to 22 Nm in the order illustrated in
B.
8
Install the support bracket between the rear end of
the unit and the flywheel cover.
9
Install the coolant hoses and pipes to the oil cooler
on the unit.
10
Fill the coolant circuit, operation 20A-02.
11
Start the engine and check for leaks.
Heat exchanger, reconditioning
(20A-11)
Applies to MD22A, MD22L-A, TMD22A
The heat exchanger insert can be removed (with the
heat exchanger installed on the engine) if the space
behind or in front of the heat exchanger is at least
555 mm.
1
Drain the coolant circuit, operation 20A-01 and the
sea water circuit, operation 20A-03.
2
Detach the support clamp which holds the output
pipe from the heat exchanger to the bottom of the
intake manifold. Remove the outlet pipe.
3
Remove the rubber ends by detaching the hose
clamps.
4
Press out the insert in whichever direction. Ensure
that the sleeve (A1) also comes out of the heat ex-
changer.
5
Check that the holes in the pipes are clean. If there
are hard deposits or contaminants in the pipe, the
best way of cleaning them is to use a non-corrosive
solution approved by the manufacturer. If the de-
posits or contaminants are soft, the pipe can be
cleaned with a steel rod of 3 mm diameter. Push the
rod through the pipes in the opposite direction to the
water flow. Take care that the rod does not damage
the pipes.

Table of Contents

Related product manuals