EasyManua.ls Logo

WAGO I/O System 750 Series - Node Status - Blink Code from the I;O LED

WAGO I/O System 750 Series
130 pages
Print Icon
To Next Page IconTo Next Page
To Next Page IconTo Next Page
To Previous Page IconTo Previous Page
To Previous Page IconTo Previous Page
Loading...
60 • Fieldbus Coupler
Fieldbus Coupler 750-346
WAGO-I/O-SYSTEM 750
DeviceNet
3.1.8.1 Node status – Blink code from the 'I/O' LED
LED Color Meaning
IO red /green
/ orange
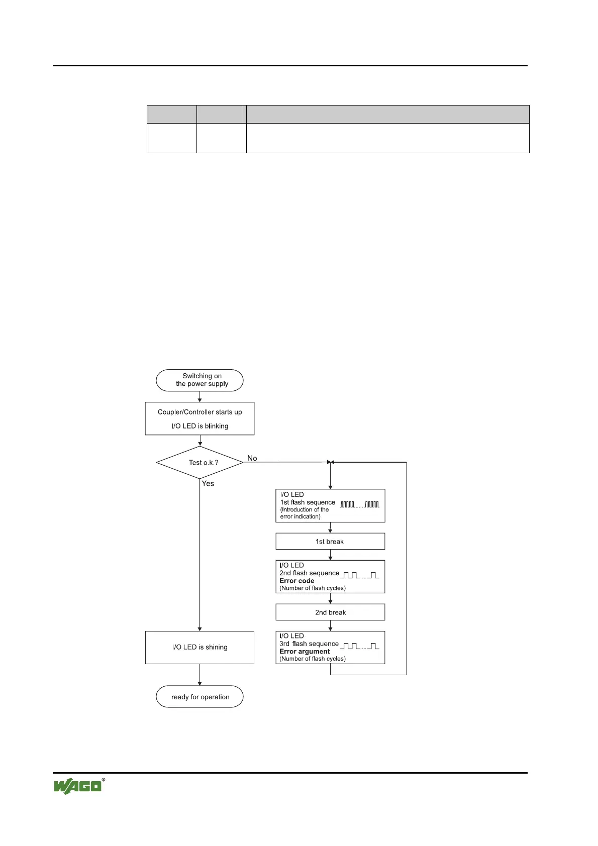
The 'I/O' LED indicates the node operation and signals faults occur-
ring.
The coupler starts up after switching on the supply voltage. The "I/O" LED
blinks. The "I/O" LED has a steady light following a fault free start-up.
In the case of a fault the "I/O" LED continues blinking. The fault is cyclically
displayed by the blink code.
Detailed fault messages are displayed with the aid of a blink code. A fault is
cyclically displayed with up to 3 blink sequences.
The first blink sequence (approx. 10 Hz) starts the fault display.
The second blink sequence (approx. 1 Hz) following a pause. The
number of blink pulses indicates the fault code.
The third blink sequence (approx. 1 Hz) follows after a further pause.
The number of blink pulses indicates the fault argument.
Fig. 3-19: Signalling the LED's node status g012111e
After overcoming a fault, restart the coupler by cycling the power.

Table of Contents

Related product manuals