EasyManua.ls Logo

Westerbeke 20.0 BEDA - Page 38

Westerbeke 20.0 BEDA
72 pages
Print Icon
To Next Page IconTo Next Page
To Next Page IconTo Next Page
To Previous Page IconTo Previous Page
To Previous Page IconTo Previous Page
Loading...
I
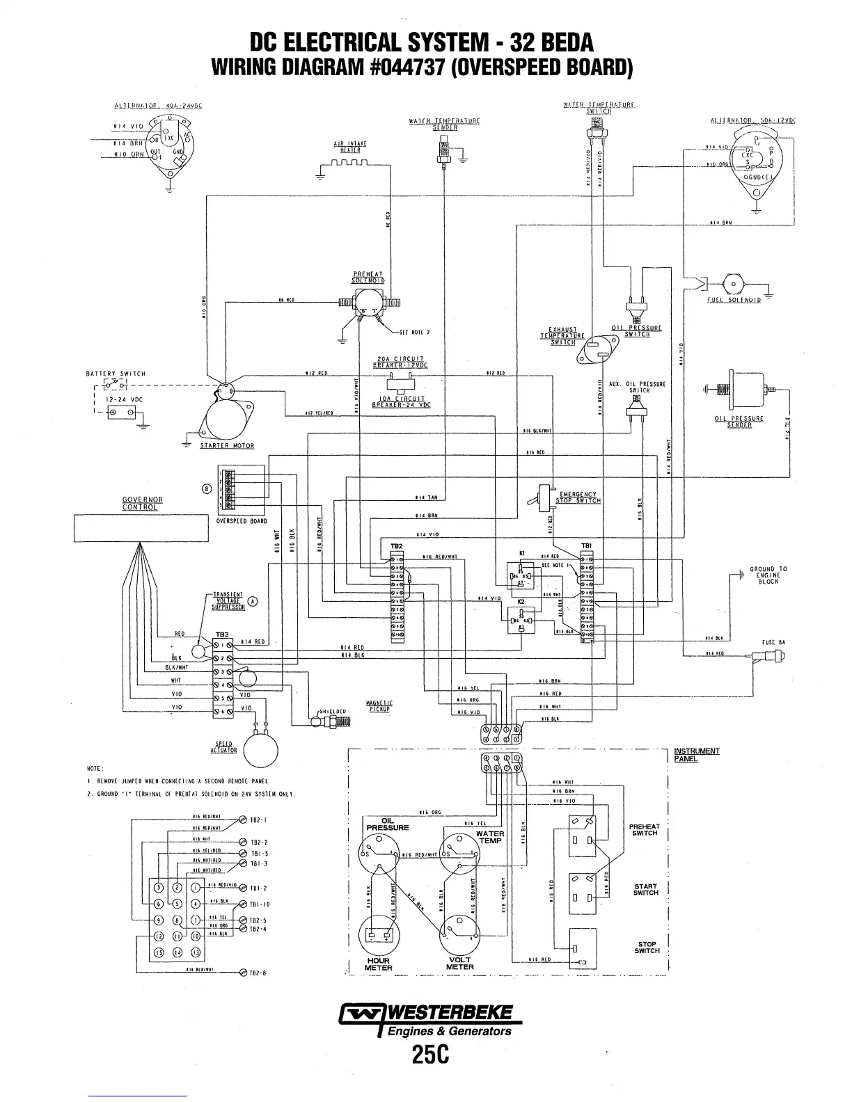
DC
ELECTRICAL
SYSTEM
32
BEDA
WIRING
DIAGRAM
#044737
(OVERSPEED
BOARD)
AUJl!
!!I.J.ilL-.!lt6.:.EJ~.Itl;
6-.:Q'-'(,
-1114
VlO
---,-f(fiiN
R
"?xc
~
__
<_t
Q
.....
Q!Hl
0
~
GN
0
,-------------------l------i------------------l--1---'
"'
BAI~T~~~~~"------11----
.,/'
-r.:'
~~~-I
,.-~
~--5l
0
"="
SJARTER
MOTOR
I
0
'
:Ill
~
kQiiill.QJ..
'
-~
OV[RSPE[D
BOARD
iii
c
d~
-
-
;.t,srr!w!:a
0
WHT
YIO
L------/-v'-"1o
__
-js>~
v o
~
NOTE.
I.
RtMOV£
JUMPER
VIHfN
CONNtCllNG
A.
SECOND
R040lC
PANEL
l.
GROUND
"I"
TERMINAl
Of
PR[IIfAl
SOI[NOIP
CN
14V
SYSHM
ONLY.
II
R[D
H
lliiEO
!
.
;
~
T
!,t!1!.1
".JR:ir,tjl
?
SHNOU1
I~(
'tAN
tJA
II
111-4
VIO
r
I
.L
__
r£t
-
____
.,_,1.._
...,.
__
-1---l---'
fi&RfD
116
l'Hl
-
--
._
..
___
-1
=UMENI
PREHEAT
SWITCH
START
SWITCH
STOP
SWITC~I
En!iflnes
&
Generatort~
25C
GROUND
TO
r-
[NGIN[
BLOCK
rust
BA

Table of Contents

Related product manuals