EasyManua.ls Logo

Wirepath WPS-365-DVR - Page 7

Wirepath WPS-365-DVR
123 pages
Print Icon
To Next Page IconTo Next Page
To Next Page IconTo Next Page
To Previous Page IconTo Previous Page
To Previous Page IconTo Previous Page
Loading...
7
WPS-365-DVR-9CH & 16CH Installation and Users Manual
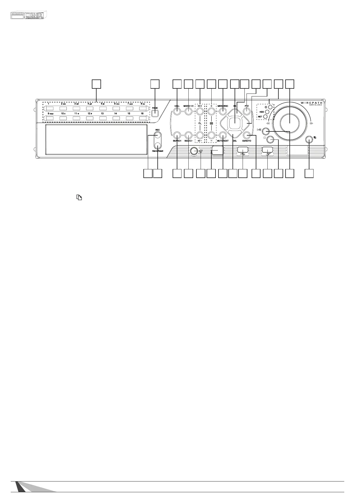
FRONT PANEL, CONT’D.
1 2 3 4 5 6 7 8 9 10 11 12 13
1415161718192021222324252627
14. Copy Button ( )
Press to copy the current playback images to the internal DVD drive, a second press will stop the copy process.
15. Play/Pause Button (/II)
Press this button to display the INSTANT PLAYBACK menu, and then PLAY or PAUSE recorded video.
16. Stop Button ()
Press this button to STOP recorded video playback and return to LIVE view.
17. USB Mouse Connector
Connect to the included USB1.1 mouse.
18. X2/GOTO Button
In PTZ control, press this button to move the camera to the preset position. In full screen display, press this button
for Digital Zoom (X2/X4).
19. USB connector
Connect to USB 2.0 compatible storage device, such as USB 2.0 disk drive, DVD+RW, card reader, etc.
20. Down/DEL Button (/DEL)
Press these buttons to move the focus window or cursor. When using PTZ control, press this button to tilt the
camera down. In text editing mode, this button is used as “delete” key.
21. MUTE/NEXT Button
Mutes audio during normal operation and moves to the next miscellaneous control during PTZ
operation.
22. Remote IR Sensor
Use to receive signal from I/R remote controller.
23. DVR ID Switch
Used to set the DVR ID(1-4) of this unit for one IR remote controller to control up to 4 sets of digital video/audio
recorders.
24. SEQ Button
Access or returns from SEQ display mode during normal operation. During Playback this button is used as “Slow
Backward”.
25. SEARCH Button
Press this button to display the search menu in main screen display. In some dialogs, this button is used as a
miscellaneous function key.
26. Alarm Reset Button
Press this button to cancel alarm activation, and return the system to the condition before.
27. REC Button
Activates manual recording, a second press will stop the recording.

Table of Contents

Related product manuals