EasyManua.ls Logo

YASKAWA MotionSuite MP940

YASKAWA MotionSuite MP940
74 pages
To Next Page IconTo Next Page
To Next Page IconTo Next Page
To Previous Page IconTo Previous Page
To Previous Page IconTo Previous Page
Loading...
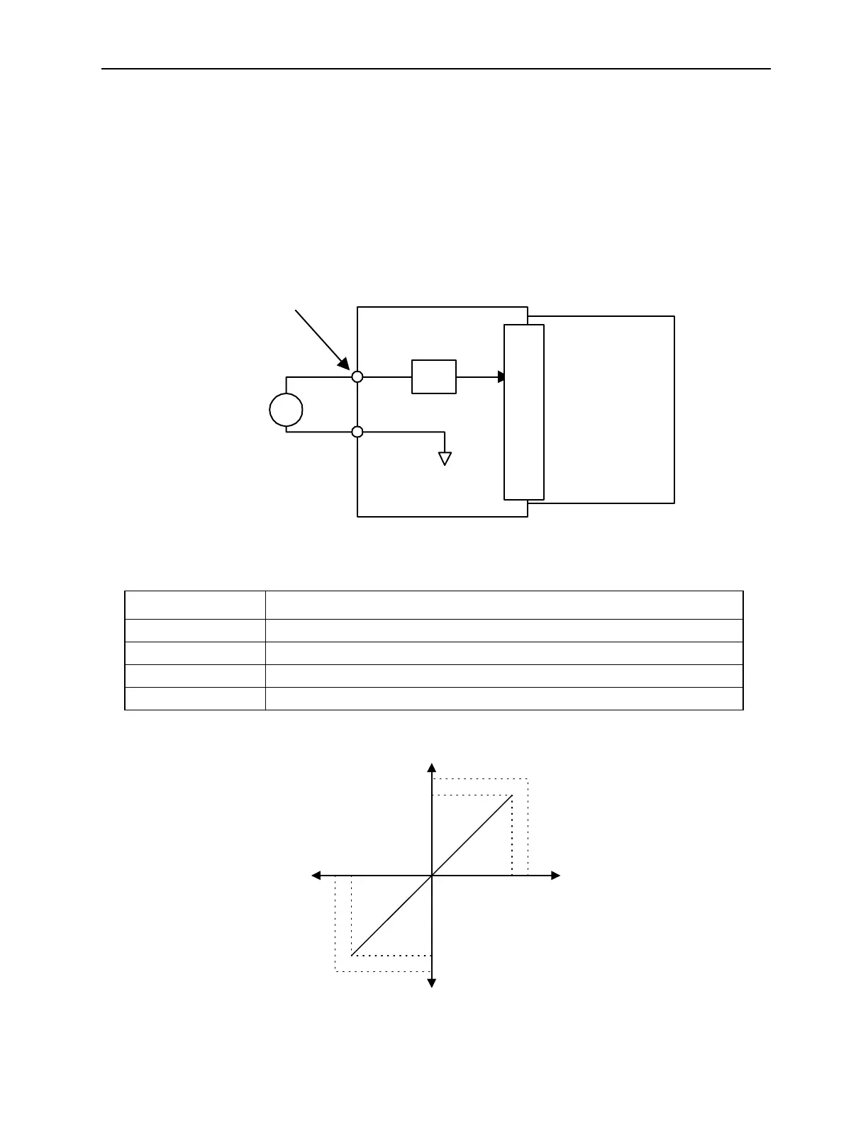
MotionSuite™ MP940 Machine Controller Hardware Manual Section 8: Analog I/O
45
Section 8: Analog I/O
Analog Input
The MP940 analog input comes from the SGDH analog input via dual port RAM. The
analog input enters the SGDH on pin 5 of the CN1 connector. Normally, this is the
VREF input, but when the MP940 and SGDH are combined, the VREF becomes
available for general purpose.
Item Specifications
Input Voltage ± 12V
Input Impedance Approximately 14k
Resolution 16 bits over a ±15V range or 457µV/bit
Accuracy The linearity of the analog input is guaranteed only within the range of ±12.0V
Figure 8.1: Analog Input Data
CN1 Connector
A/D
Dual Port RAM
V
MP940
SGDH
-12V ~ +12V
5
6
12V-12V
32767
26213
15V
-15V
-26214
-32768
Artisan Technology Group - Quality Instrumentation ... Guaranteed | (888) 88-SOURCE | www.artisantg.com

Related product manuals