EasyManua.ls Logo

YASKAWA Varispeed-606PC3 - Page 80

YASKAWA Varispeed-606PC3
157 pages
Print Icon
To Next Page IconTo Next Page
To Next Page IconTo Next Page
To Previous Page IconTo Previous Page
To Previous Page IconTo Previous Page
Loading...
2
.
D
fGITAI
OPERATOR
(JVIC)P-114)
(Confd)
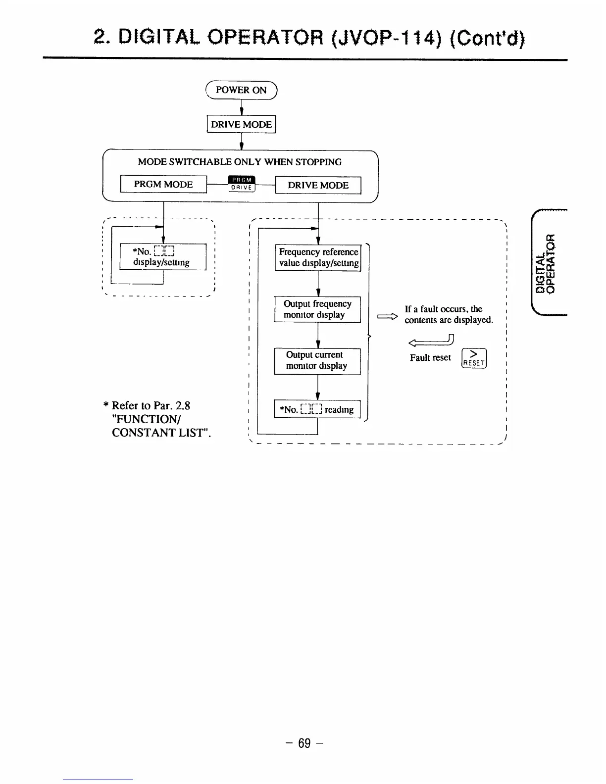
MODE
SWITCHABLE
ONLY
WHEN
STOPPING
No
.
L_JL_J
display/setting
*
Refer
to
Par
.
2
.8
"FUNCTION/
CONSTANT
LIST"
.
POWER
ON
DRIVE
MODE
I&M
DRIVE
i
i
i
Frequency
reference
value
display/setting
Output
frequency
If
a
fault
occurs,
the
monitor
display
contents
are
displayed
.
'
-~
i
v
Output
current
Fault
reset
monitor
display
RESET
I
i
1
*No
.
r--ir-n
L_JL_J
read
ing
i

Table of Contents

Related product manuals