EasyManua.ls Logo

Zenit UNIQA - APPENDIX 3: Vertical Installation in Dry Chamber

Zenit UNIQA
Print Icon
To Next Page IconTo Next Page
To Next Page IconTo Next Page
To Previous Page IconTo Previous Page
To Previous Page IconTo Previous Page
Loading...
173
better together
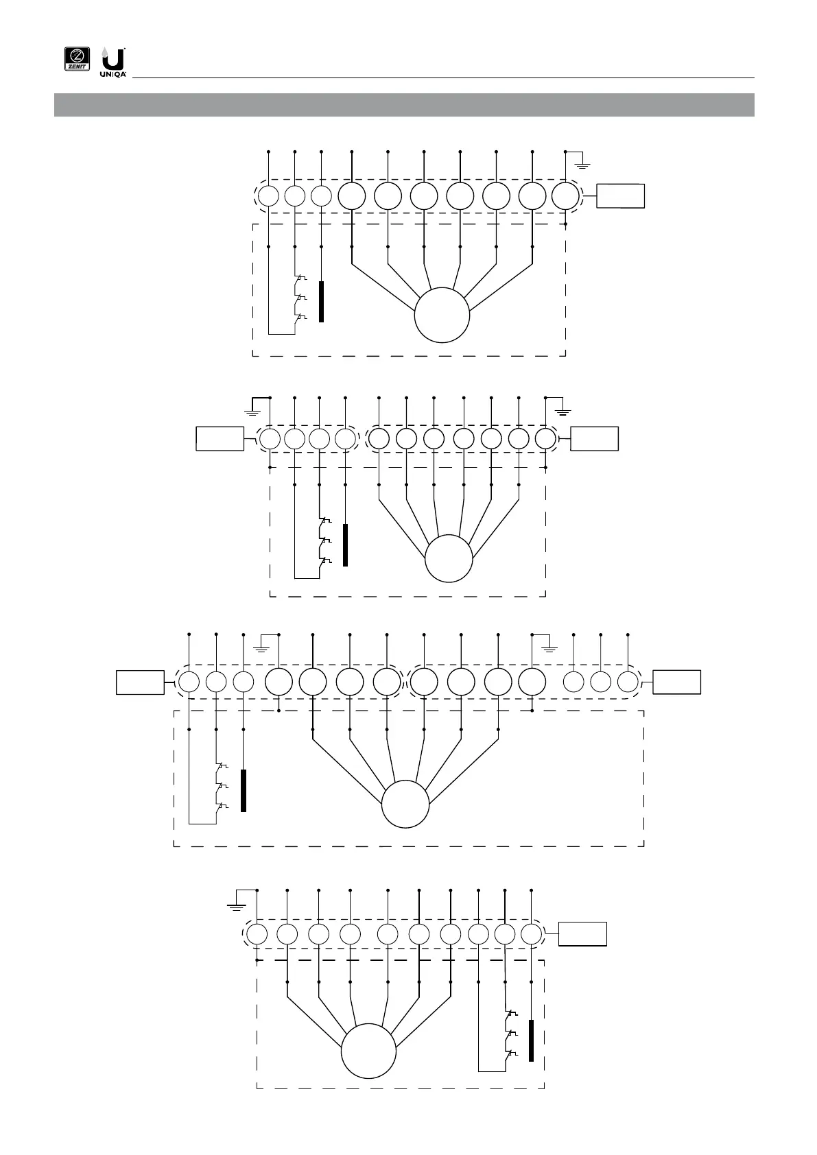
TP
TP
S
U2
W2
V2
PE
U1
W1
V1
Bn
Bn Bu
Bk Bn Bu
Bu
Gn
Bn
Gn
Bk
Gn
M
3~
Yw
Gn
7G_+3x1
S1RN8F
TP
PE
U2
W2
V2
PE
U1
W1
V1
TP
S
Bn Gy Bk
Yw
Gn
M
3~
Yw
Gn
Bk Bn Bu
Bu
Gn
Bn
Gn
Bk
Gn
4G_
7G1,5
S1RN8F
S1RN8F
4G_+3x1
4G_+3x1
Bn Bn
Bu
Bu Bn Bn
Bk Bn Gy Bk Bn Gy
M
3~
Yw
Gn
Yw
Gn
S1RN8F
S1RN8F
TP
TP
S
U2
W2
V2
PE
U1
W1
V1
7 8
3
9
1 2 4 5 6
M
3~
Yw
Gn
10x1.5
NSSHOU


Table of Contents

Related product manuals