EasyManua.ls Logo

ABB COMMANDER 351 - Single Loop Controller

ABB COMMANDER 351
104 pages
Print Icon
To Next Page IconTo Next Page
To Next Page IconTo Next Page
To Previous Page IconTo Previous Page
To Previous Page IconTo Previous Page
Loading...
13
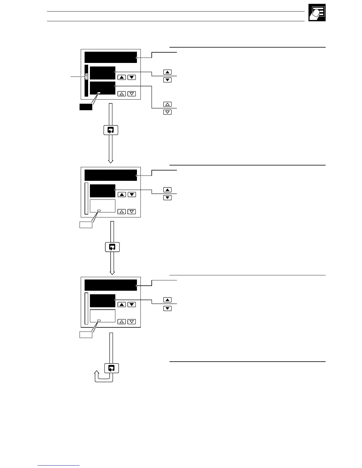
350.0
351.5
70
PV – CSPt
Deviation
OP1
•1
1.000
rAtO
OP1
•2
5.000
bIAS
OP1
•3
2 OPERATOR LEVEL
Process Variable
Control Set Point
['SPLO' to 'SPHI' – see Section 4.5]
Adjustable in Local Control Only
Control Output
[0 to 100% (digital/relay outputs),
–10 to 110% (analog outputs)]
Adjustable in manual mode only. With on/off control
selected, 0% = control output off, 100% = control
output on. In manual mode, intermediate values can
be selected. These use 'time proportioning' with a
60s cycle time, e.g. 25% = 15s on, 45s off.
Remote Set Point Ratio
[0.001 to 9.999]
Remote set point value =
(ratio x remote set point input) + bias
Remote Set Point Bias
[In engineering units]
Return to top of page
•1 With the Ramping Set Point function enabled (see Section 3.3, Set Points/ Ramp Rate), the
bargraph shows the actual (ramping) set point value and the digital display shows the target set
point value.
•2 Displayed only if template 2 selected and Ratio Display is enabled – see Section 4.2, Basic
Configuration and Section 4.7, Operator Configuration.
•3 Displayed only if template 2 selected and Bias Display is enabled – see Section 4.2, Basic
Configuration and Section 4.7, Operator Configuration.
2.2 Single Loop Controller (Templates 1 and 2)

Table of Contents

Related product manuals