EasyManua.ls Logo

ABB COMMANDER 351 - Page 78

ABB COMMANDER 351
104 pages
Print Icon
To Next Page IconTo Next Page
To Next Page IconTo Next Page
To Previous Page IconTo Previous Page
To Previous Page IconTo Previous Page
Loading...
76
5 INSTALLATION
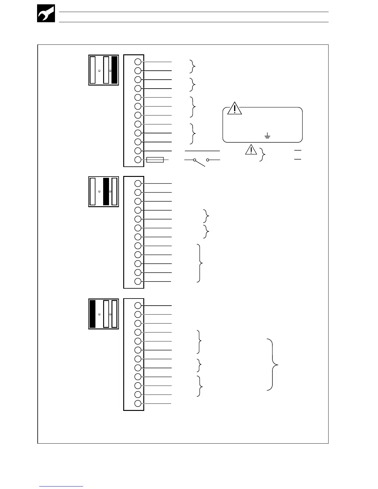
+
+
NO
C
NC
NO
C
NC
N
L
Analog Output 2
(ao2)
Relay 1
(RLY1)
1
2
3
4
5
6
7
8
9
10
11
12
Neutral
Line
(1A Type T fuse
and external
isolating switch)
25
26
27
28
29
30
31
32
34
35
36
33
15
16
17
18
19
20
21
22
23
24
13
14
Relay 2
(RLY2)
Digital Input 3 (di3)
Digital Input Common
Digital Input 4 (di4)
+
+
NO/NC
C
NO/NC
C
COM
Rx+
Rx–
Tx+
Tx–
Relay 3 (RLY3)
Relay 4 (RLY4)
RS485
+
+
+
RTD
+
+
RTD
+24V
2-wire Transmitter PSU Common
Analog Input 3 (I/P3)
Analog Input 1 (I/P1)
Analog Input 2 (I/P2)
See
Fig. 6.7
Digital Input Common
Digital Input 1 (di1)
Digital Input 2 (di2)
Output/
Power Supply
Terminals
Option Board
Terminals
Input
Terminals
Terminal blocks
viewed from rear of
case
Digital / Analog Output 1
(ao1 /do1)
Caution. The AC
power supply ground cable
must be connected to a
Ground Stud.
+
24V
DC
85 min. to
265V max.
AC 15VA
5.2.1 Electrical Connections Figs 5.6 to 5.8
Fig. 5.6 Electrical Connections General

Table of Contents

Related product manuals