EasyManua.ls Logo

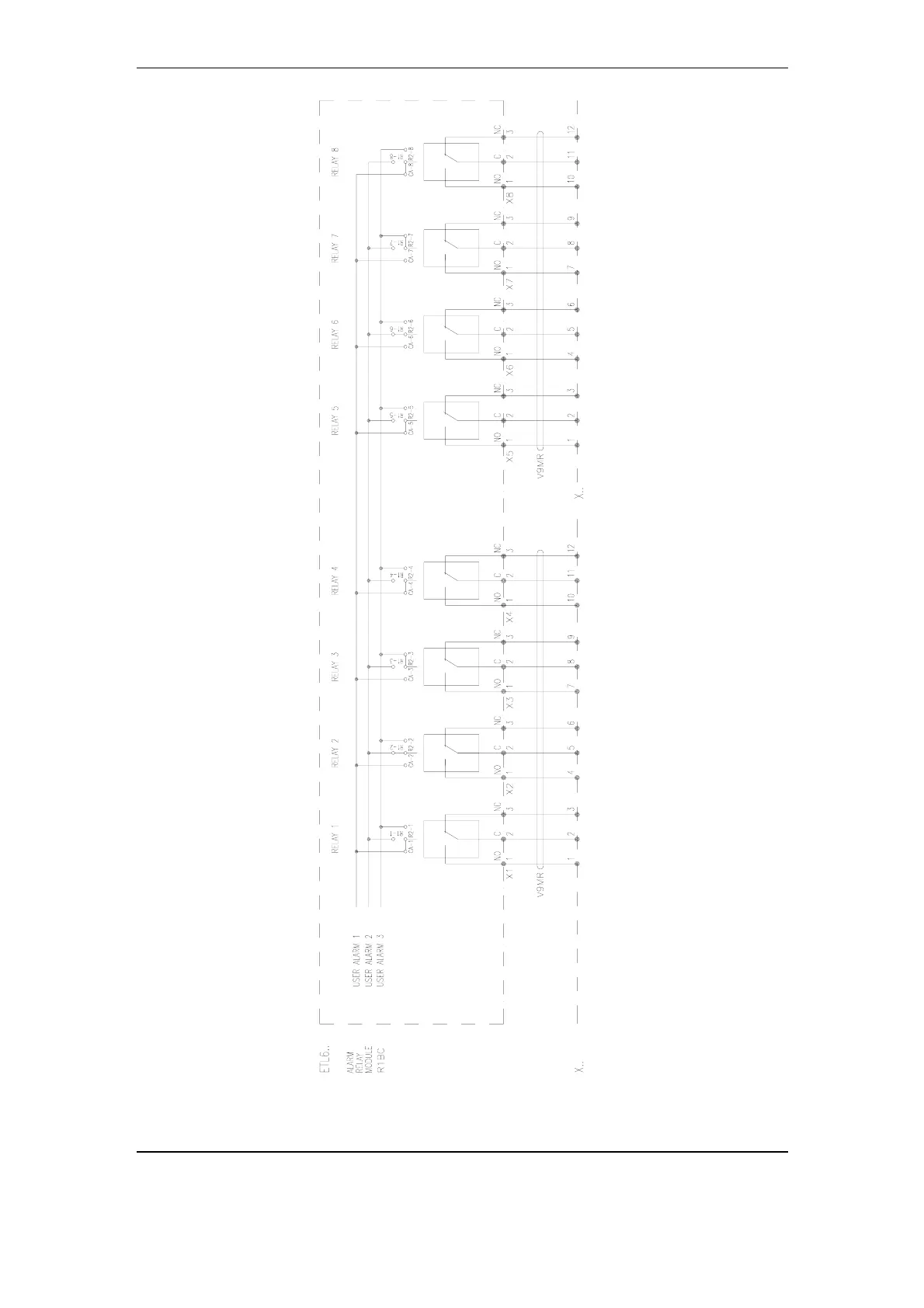
ABB ETL600 - Fig. 6-21 Connections to the Alarm Relay Module R1 BC

ABB ETL600
382 pages
To Next Page IconTo Next Page
To Next Page IconTo Next Page
To Previous Page IconTo Previous Page
To Previous Page IconTo Previous Page
Loading...
ETL600 1KHW001489-EN ABB Switzerland Ltd
Fig. 6-21 Connections to the alarm relay module R1BC
Assembly and Installation November 2005 6-27

Table of Contents

Related product manuals