EasyManua.ls Logo

ABB ETL600 - Tx Input Command Delay; Tx Input Command Prolongation

ABB ETL600
382 pages
Print Icon
To Next Page IconTo Next Page
To Next Page IconTo Next Page
To Previous Page IconTo Previous Page
To Previous Page IconTo Previous Page
Loading...
ABB Switzerland Ltd 1KHW001489-EN ETL600
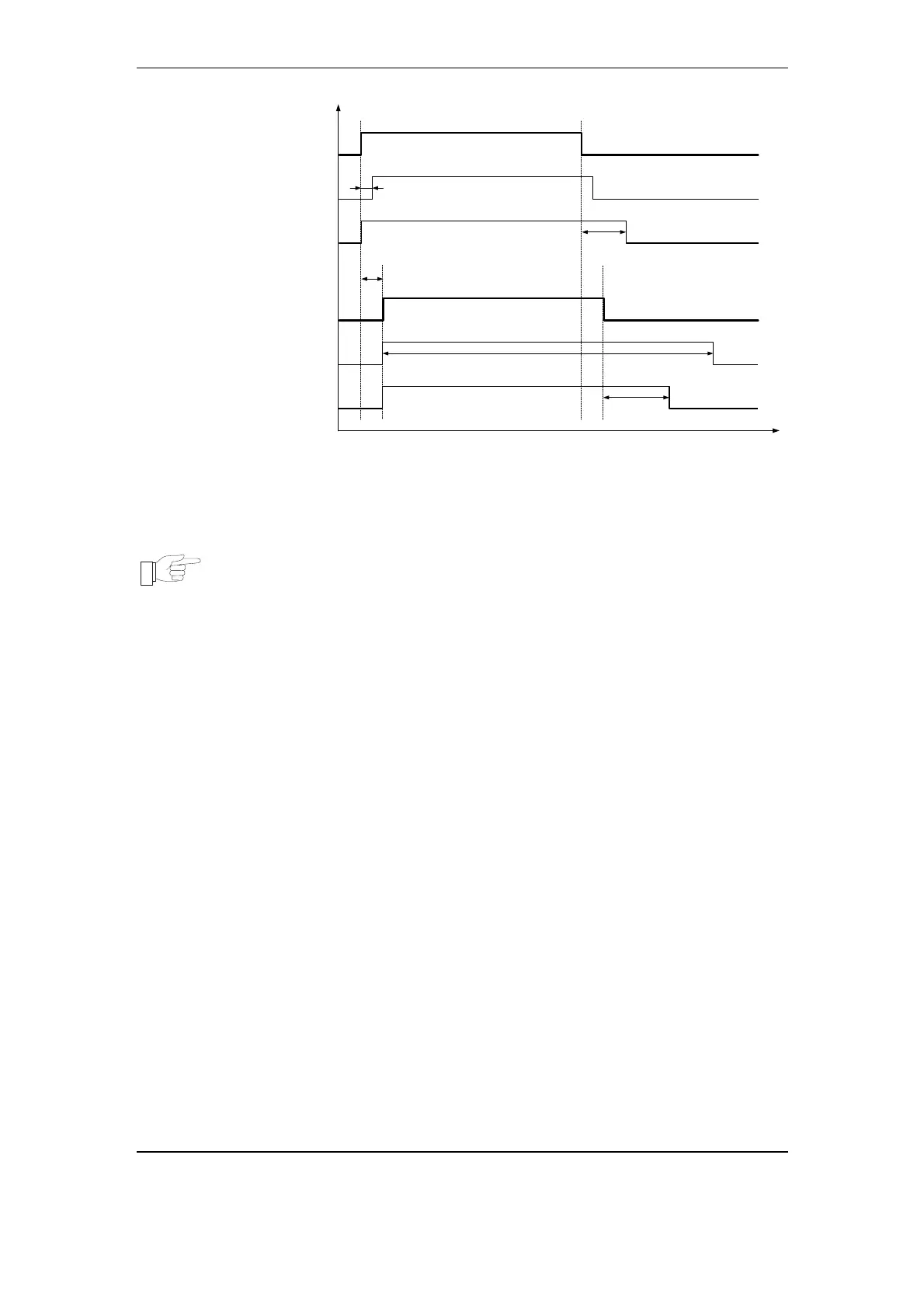
Local Command
at G4AI Input
Local Command
with Tx Input Delay
Local Command
with Tx Input
Prolongation
Remote Command
as received of TPE
(DSP on P4LT)
Remote Command
with fixed Rx Output
Duration at G4AI Output
Remote Command
with Rx Output Prolon-
gation at G4AI Output
e.g. 5 ms
e.g. 20 ms
T0, e.g. 10 ms
e.g. 150 ms
e.g. 30 ms
Fig. 3-43 Input/output command handling parameters
3.6.8.6.2. Tx Input Command Delay
Note:
To configure an input command delay has a direct
influence on the transmission time of the equipment.
It is delayed correspondingly and thus means an
artificial deterioration of the equipment performance.
Normally the receiver at the remote station decides
whether it was a genuine command of adequate
length or only a transient spark on a command input.
Therefore the command inputs are not delayed pe
r
default setting.
For some special applications a “pick up time” for the command inputs
has to be configured. A command is transmitted only after the
corresponding command input was activated for a preset delay time.
The preset input command delay is configurable for each command
separately by means of the HMI600 in the range of 0 ms (default
setting) to 10 ms.
The command sending duration is automatically prolonged by the
same time (compensation of the input command delay).
3.6.8.6.3. Tx Input Command Prolongation
A Tx command prolongation ensures a steady tripping signal at the RF
output even in the event of discontinuations of the command(s) being
injected at the G4AI input(s).
A Tx command prolongation can be programmed for each command
separately in the range of 0 ms (default setting) to 3 seconds.
3-78 November 2005 Structure and Function

Table of Contents

Related product manuals