EasyManua.ls Logo

Acer AOHAPPY2 - LCD Failure

Acer AOHAPPY2
404 pages
Print Icon
To Next Page IconTo Next Page
To Next Page IconTo Next Page
To Previous Page IconTo Previous Page
To Previous Page IconTo Previous Page
Loading...
4-8 Troubleshooting
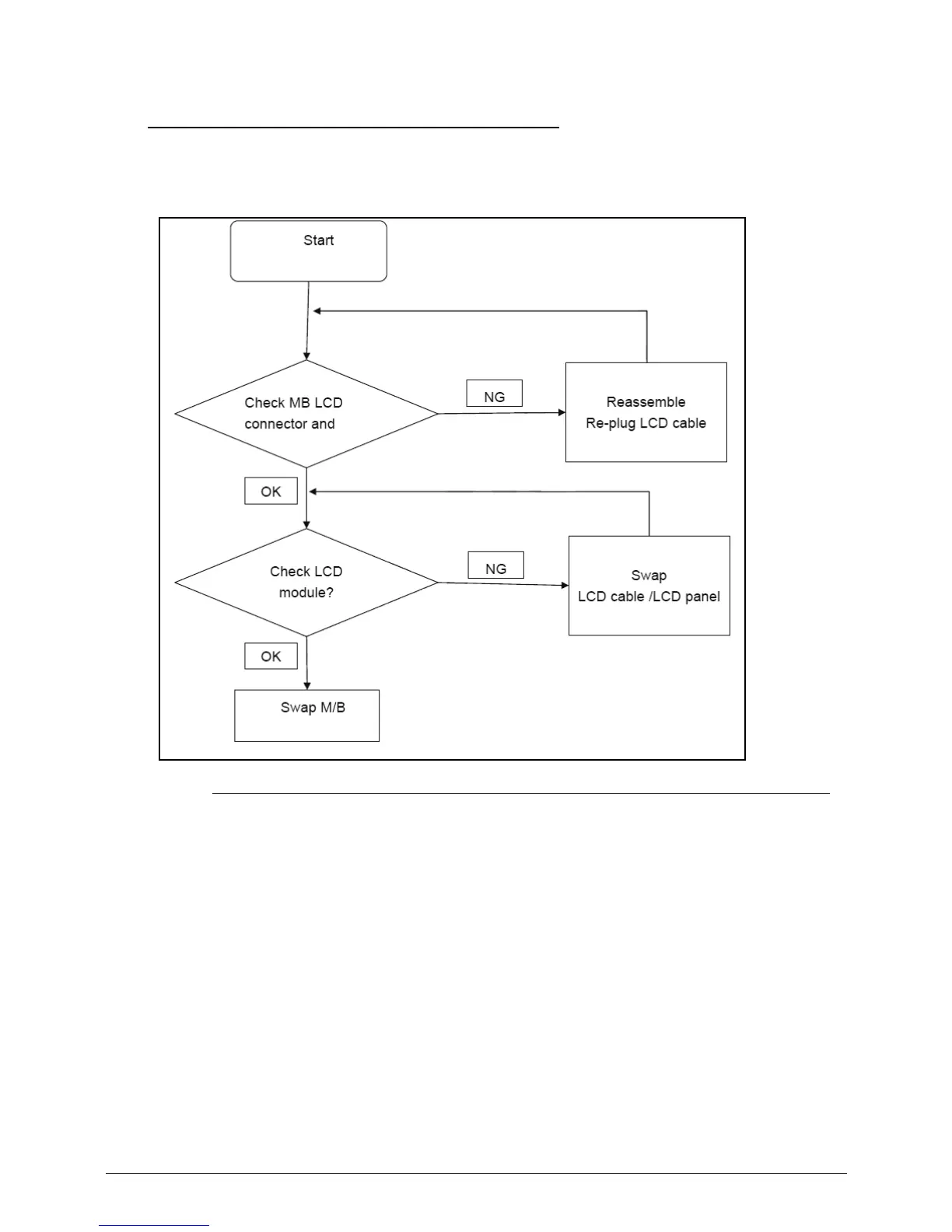
LCD Failure 0
If the LCD fails, perform the following:
Figure 4-3. LCD Failure

Table of Contents

Related product manuals