EasyManua.ls Logo

Acer AOHAPPY2 - Internal Speaker Failure

Acer AOHAPPY2
404 pages
Print Icon
To Next Page IconTo Next Page
To Next Page IconTo Next Page
To Previous Page IconTo Previous Page
To Previous Page IconTo Previous Page
Loading...
Troubleshooting 4-11
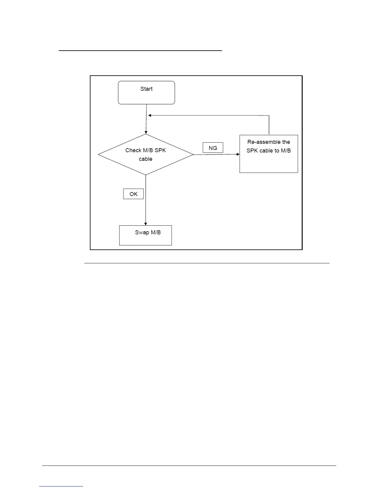
Internal Speaker Failure 0
If internal Speakers fail, perform the following:
Figure 4-6. Internal Speaker Failure
Sound Problems 0
Perform the following, one at a time.
1.
Boot the computer.
2. Navigate to StartÒ Control Panel System and Maintenance System
Device Manager. Check the Device Manager to determine that:
The device is properly installed
There are no red Xs or yellow exclamation marks
There are no device conflicts
No hardware is listed under Other Devices
3. If updated recently, roll back the audio driver to the previous version.
4. Remove and reinstall the audio driver.
5. Make sure that all volume controls are set mid range:
Click the volume icon on the taskbar
Drag the slider to 50. Confirm that the volume is not muted.
Click Mixer to verify that other audio applications are set to 50 and not muted.
6. Navigate to Start
Control Panel Hardware and Sound Sound. Confirm

Table of Contents

Related product manuals