EasyManua.ls Logo

Allen-Bradley LOGIX 5000

Allen-Bradley LOGIX 5000
561 pages
To Next Page IconTo Next Page
To Next Page IconTo Next Page
To Previous Page IconTo Previous Page
To Previous Page IconTo Previous Page
Loading...
Process Control Instructions
Chapter 1
Rockwell Automation Publication 1756-RM006K-EN-P - November 2018 95
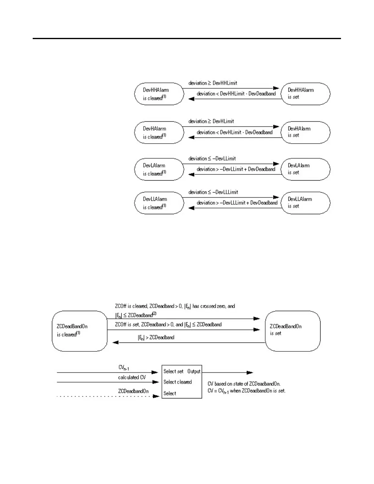
The high-high to low-low alarming algorithm compares the deviation to deviation
alarm limits and the deviation alarm limits plus or minus the deadband.
(1) During instruction first scan, the instruction clears the deviation alarm
outputs. The instruction also clears the deviation alarm outputs and disables the
alarming algorithm when PVFaulted or PVSpanInv is set.
Zero Crossing Deadband Control
You can limit CV such that its value does not change when error remains within
the range specified by ZCDeadband (| E | ZCDeadband).
(1)
When ZCOff is cleared, ZCDeadband > 0, error has crossed zero for the first
time, (i.e. En >= 0 and En-1 < 0 or when En <= 0 and En-1 > 0), and | En | <=
ZCDeadband, the instruction sets ZCDeadbandOn.

Table of Contents

Other manuals for Allen-Bradley LOGIX 5000

Related product manuals