EasyManua.ls Logo

Allsteel Optimize - Support Leg

Default Icon
28 pages
Print Icon
To Next Page IconTo Next Page
To Next Page IconTo Next Page
To Previous Page IconTo Previous Page
To Previous Page IconTo Previous Page
Loading...
343-3512A (03/13)
13 of 27
Optimize
IMPORTANT
The primary uses of support legs are at 90° panel junctions and/or to support adjoining worksurfaces.
When used to support a single worksurface, the worksurface grommet hole will be partially blocked.
If full access of grommet hole is required, replace support leg with a cantilever support bracket.
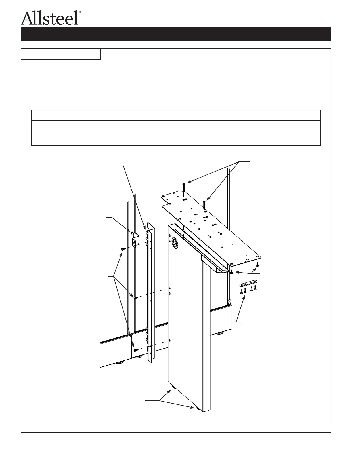
Illustration 2: Support Leg
Step 1 - Insert panel attachment
bracket tabs into panel
slots and lift bracket,
hooking tabs behind panel
frame.
Step 2 - Insert anti-dislodgement
bracket into panel slot
and align bottom hole of
bracket with top hole of
full end panel support.
Step 3 - Install sheet metal screws
through top holes of each
pair of panel attachment
bracket holes and into top
holes of support leg.
Note: Insert color matched
hole plugs into holes
on opposite side of
support leg.
Assembly:
1. Assemble support leg, panel attachment bracket, and at bracket in a conguration where the leg is under the
largest worksurface.
2. Right-hand conguration is shown. Attach panel attachment bracket to opposite side of support leg for a left-hand
conguration. Flip at bracket over for left-hand applications.
Step 6 - Install wood
screws through
round holes in
at bracket and
into bottom of
worksurface.
Step 5 - Install two at head
sheet metal screws
through larger holes
in at bracket and
into top of support
leg.
Note: Right-hand
application shown.
Flip bracket over for
left-hand application.
Step 7 - Connect tie plate
between two
worksurfaces. Install
wood screws through
holes in tie plate and
into worksurfaces.
Step 4 - Turn leveling glides
until glides are at
against oor.
Worksurface Supports Installation

Table of Contents

Related product manuals