EasyManua.ls Logo

Atlas Copco ZBP45 - 4.2.1 Before the ESS is started; 4.2.2 Starting the ESS; 4.2.3 During operation; 4.2.4 Connecting appliances

Atlas Copco ZBP45
106 pages
To Next Page IconTo Next Page
To Next Page IconTo Next Page
To Previous Page IconTo Previous Page
To Previous Page IconTo Previous Page
Loading...
- 27 -
4.2.1 Before the ESS is started
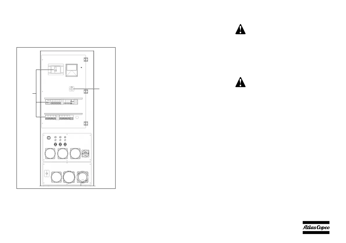
1. Before starting the system, check that all the
automatic switches (general ELCB, sockets
protections and main circuit breaker) are in the
OFF position (1).
2. Select the desired operating mode with S20
(Genset/OFF/Mains). See also chapter “Checks
and trouble shooting” on page 49.
4.2.2 Starting the ESS
1. Put starter switch S20 in position GENSET or
MAINS to power the CCGX module.
The GENSET mode needs to be used if you want
to use the smart Start and Stop function of the
genset and optimize the hybridization solution.
The MAINS mode is to be used if the ESS is
connected to the MAINS or to a genset not
controlled by the intelligence of the ESS.
2. Once the machine starts, the CCGX will check
that all functioning conditions are OK. If there is
any failure, the CCGX will display a signal.
4.2.3 During operation
Regularly carry out following checks:
Check the controller display for normal readings.
Check that the voltage between the phases is iden-
tical and that the rated current is not exceeded.
When single-phase loads are connected to the
generator output terminals, try to keep all loads
well-balanced.
If circuit breakers have tripped during operation,
switch off the load. Check and, if necessary,
decrease the load.
4.2.4 Connecting appliances
1. Start the ESS. See section 4.2.2.
2. Plug in the sockets.
3. Make sure that a correct voltage is displayed.
4. Switch on circuit breakers.
2
1
Keep in mind that this machine is a
ESS, not a generator set!
To correctly disconnect the
appliances from the ESS, first
switch off the corresponding circuit
breaker to isolate the electric load
and only then remove the plug.
00_00_ZBP45_EN.book Page 27 Monday, October 19, 2020 9:52 AM

Table of Contents