EasyManua.ls Logo

Belitronic BJ5000 Ex - Theft Code Security [E64]; Theft Code Activation Options; Setting and Activating Theft Code

Belitronic BJ5000 Ex
52 pages
Print Icon
To Next Page IconTo Next Page
To Next Page IconTo Next Page
To Previous Page IconTo Previous Page
To Previous Page IconTo Previous Page
Loading...
CODE [E64] The machine is equipped with electronic lock with any anti-theft code. If theft code is
selected, the machine asks for it immediately upon startup. The code is optional 0-999999. Three
attempts can be made before the machine locks. If this occurs, dealer must be contacted to
obtain an unlock code. The number to the left of the code ending with an "h" and the serial
number displayed at startup must be reported to retailer. Immediately turn off the machine while
waiting for the new code. When the new code is entered, it deletes both the user's own theft code
and theft code to be used. Reenter own code if desired.
To select a theft code, do the following.
Theft code at [E64] Select when the theft code is to be activated. The choice determines
whether code should be used. Choose between…
"Battery unconnect“ This activates the theft code only when machine is disconnected from
the power supply, which occurs if the machine is being stolen. Turning on and off the
machine by the emergency stop switch will work without any code being asked.
Always at start” This will ask for a Code every time machine is powered on, even with the
emergency stop switch.
Never” The Theft code is not used, unlocked.
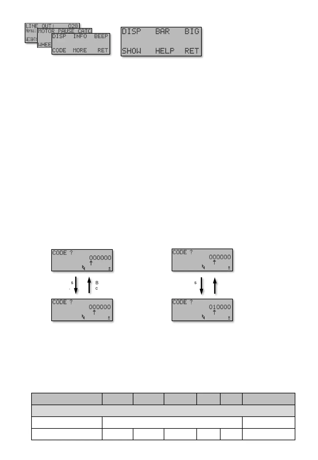
Theft code [E64 P] Set the code by using the buttons [2] and [5] to move the cursor. Use the [3]
and [6] buttons to change the number above the cursor . When you are satisfied with the Theft
code, press [P]rog to activate the Theft code protection and then [E]enter for and return to
Main screen.
Button [3] increases
digit value by 1
Knapp [6] decreases
digit value by 1
Button [2] moves
cursor the right.
Button [5] moves
cursor the left.
[E64]
CODE [E64]
Pictures Min Max Factory Steg Unit Navigation
MORE - CODE [E64]
CODE Theft code at Never Always at start Battery unconnected. [E64]
CODE Theft code ? 000000 999999 - 1 - [E64 P]
Table shows units and value limits. See [E654] for menu detail level setting. Some screens are not visible if simple view, or normal view are Chosen.
Main screen
Navigate [E6]
Menu [E61]

Table of Contents