EasyManua.ls Logo

Binder KBF 720 - Page 38

Default Icon
140 pages
Print Icon
To Next Page IconTo Next Page
To Next Page IconTo Next Page
To Previous Page IconTo Previous Page
To Previous Page IconTo Previous Page
Loading...
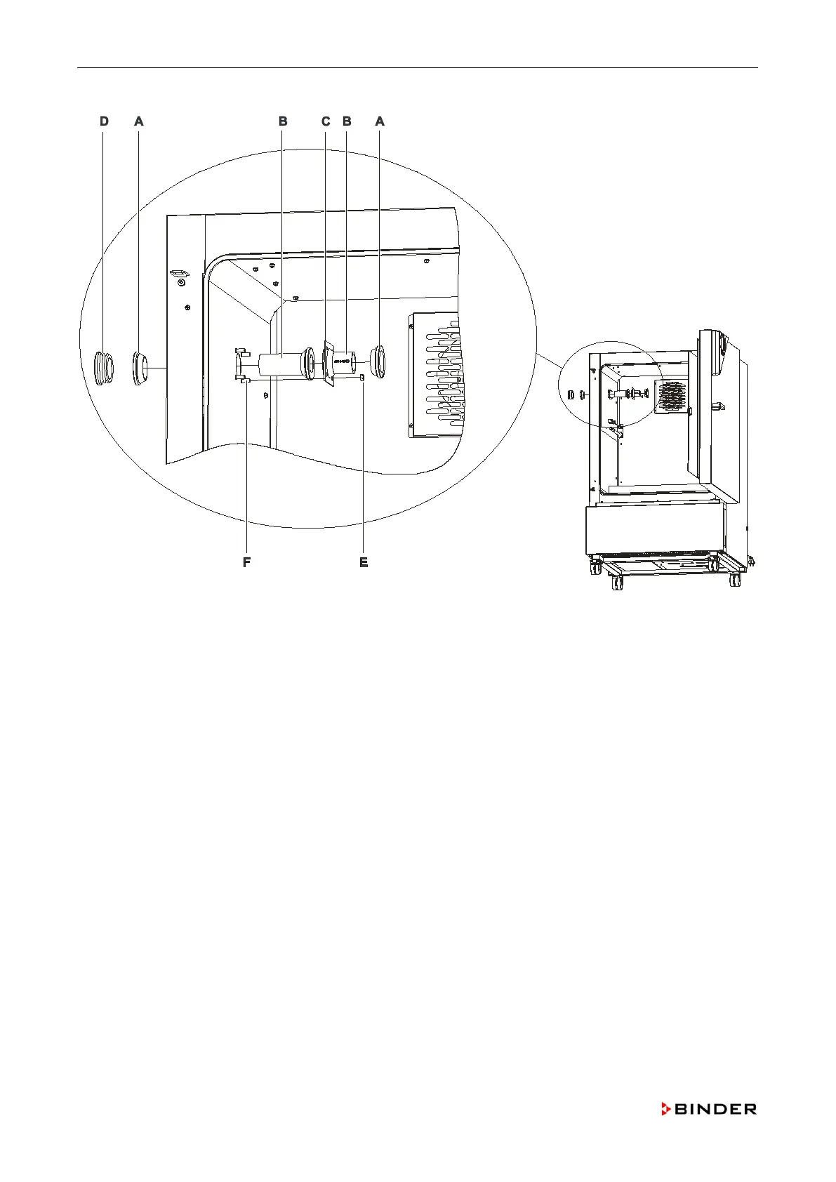
Repair work at the housing
A Conical nipples
B Silicone access ports
C Fixing disk
D Plug for silicone access port
E Nuts M6 A2 / stainless steel
F Stud bolt
Figure 4: Replacing the silicone access port
38 Service Manual KBF (E5.2) 04-2015

Table of Contents

Other manuals for Binder KBF 720

Related product manuals