EasyManua.ls Logo

Buhler DFTA 12 - Dfta 13

Buhler DFTA 12
42 pages
Print Icon
To Next Page IconTo Next Page
To Next Page IconTo Next Page
To Previous Page IconTo Previous Page
To Previous Page IconTo Previous Page
Loading...
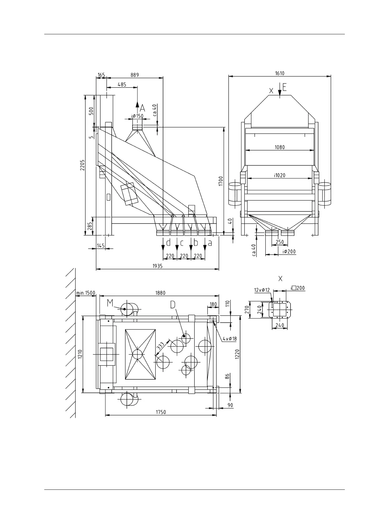
Throw sifter Description 15
© Copyright 2018 Bühler AG DFTA-66620-2-en-1803
2.5.2 DFTA 13
Fig. 2.7

Related product manuals