EasyManua.ls Logo

Circutor DHC-96 Aac - 5�5�- Relay Output 2; 5�6�- Configuration of the Display; 5�6�1�- Password off Access

Circutor DHC-96 Aac
46 pages
Print Icon
To Next Page IconTo Next Page
To Next Page IconTo Next Page
To Previous Page IconTo Previous Page
To Previous Page IconTo Previous Page
Loading...
5.5.- RELAY OUTPUT 2
Figure 18, shows the main screen of the conguration menu of relay output 2.
do-2
Figure 18:Conguration menu of relay output 2, main screen.
The conguration is the same as for alarm relay 1, see “5.4.- RELAY OUTPUT 1”.
5.6.- CONFIGURATION OF THE DISPLAY
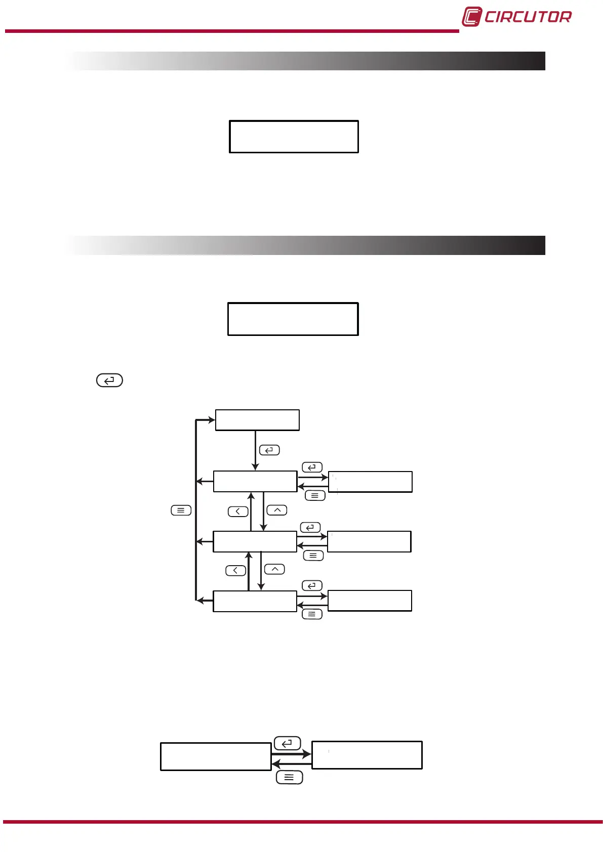
Figure 19, shows the main screen of the conguration menu of the display.
SEt
Figure 19: Conguration menu of the display, main screen.
Press the key to open the conguration menu.
SEt
CodE
Alr
L3LiGH
0001
120.0
Figure 20:Conguration menu of the display.
5�6�1�- PASSWORD OFF ACCESS
This screen is used to congure the value of the password used to access the conguration
menu in the programming mode.
CodE
0000
29
Instruction Manual
DHC-96 Aac

Table of Contents

Related product manuals